Популярные города
Товаров не найдено, но мы можем привезти под заказ
Нет аккаунта?
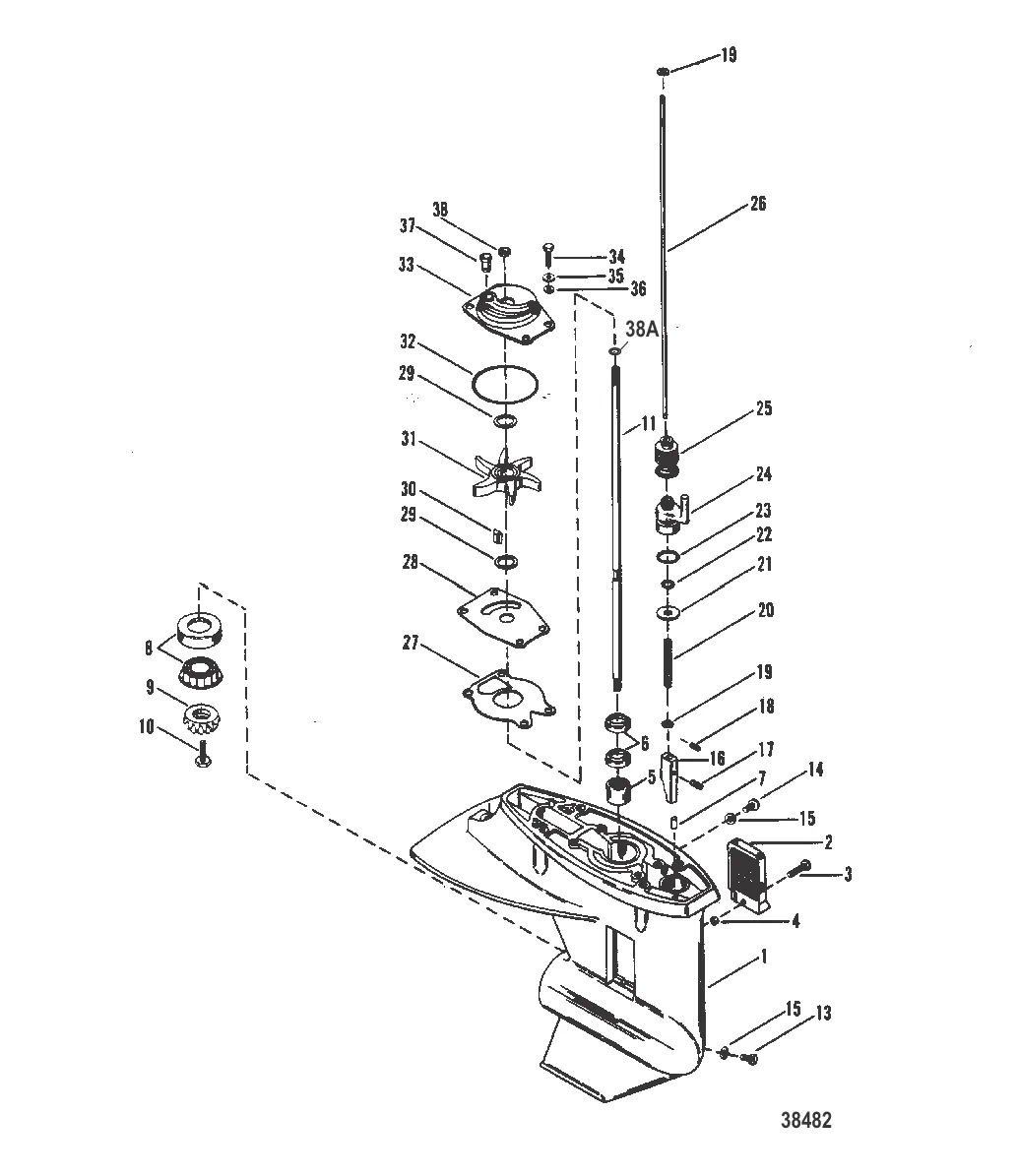
УПЛОТНИТЕЛЬНОЕ КОЛЬЦО Mercury 99691
99691
288 ₽
Управление лодкой в нетрезвом виде — серьёзное нарушение с крупными штрафами и лишением прав. Разбираем размеры штрафов, порядок проверки и последствия для судоводителя в 2026 году.
Детальное сравнение лодочных моторов Mercury и Honda в пяти мощностных классах. Разбираем надёжность, расход, доступность запчастей и ликвидность на вторичном рынке.
Сравниваем инжекторную (EFI) и карбюраторную топливные системы на лодочных моторах. Разбираем расход топлива, холодный запуск, обслуживание и цену — и объясняем, почему Mercury перевели все моторы на EFI.
Контакты
+7 800 555-65-49
Бесплатно по России — нажмите, чтобы позвонить
Написать нам
Перезвоните мне
Оставьте номер — наш эксперт перезвонит и подберёт нужные запчасти
Нажимая кнопку, вы соглашаетесь на обработку персональных данных
Наш эксперт свяжется с вами в ближайшее время
Скидка будет применена к вашему заказу