СТАНДАРТНАЯ СИСТЕМА ОХЛАЖДЕНИЯ — 1992-1993 [0D714370 THRU 0F001219] — купить в Victory Marine
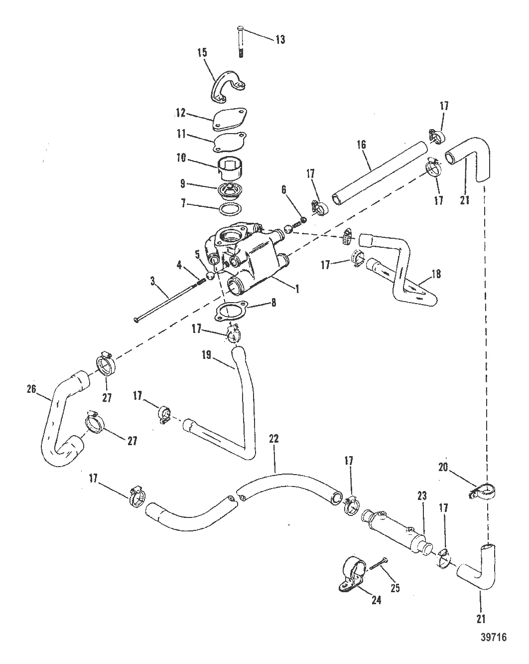
СТАНДАРТНАЯ СИСТЕМА ОХЛАЖДЕНИЯ
1
3
4
5
11
12
13
15
18
19
20
21
22
24
25

СТАНДАРТНАЯ СИСТЕМА ОХЛАЖДЕНИЯ

Уточняйте

908 ₽

386 ₽

720 ₽

332 ₽

225 ₽

9 . Термостат 60C Mercruiser 4.5L 8M0089715

807252T1 → 8072521 → 8052731 → 59137 → 35884 → 32728 → 8M0089715

3 744 ₽

1 900 ₽

207 ₽

9 800 ₽

672 ₽

2 195 ₽

11 454 ₽

989 ₽

18 . РУКАВ Mercury 160211

16021 → 87116 → 160211

4 945 ₽

6 504 ₽

Уточняйте

4 792 ₽

22 . РУКАВ Mercury 41642A3

41642A1 → 41642A3

8 018 ₽

44 211 ₽

1 697 ₽

344 ₽

8 393 ₽

1 109 ₽

Полезные статьи

Все статьи →
Связаться с нами