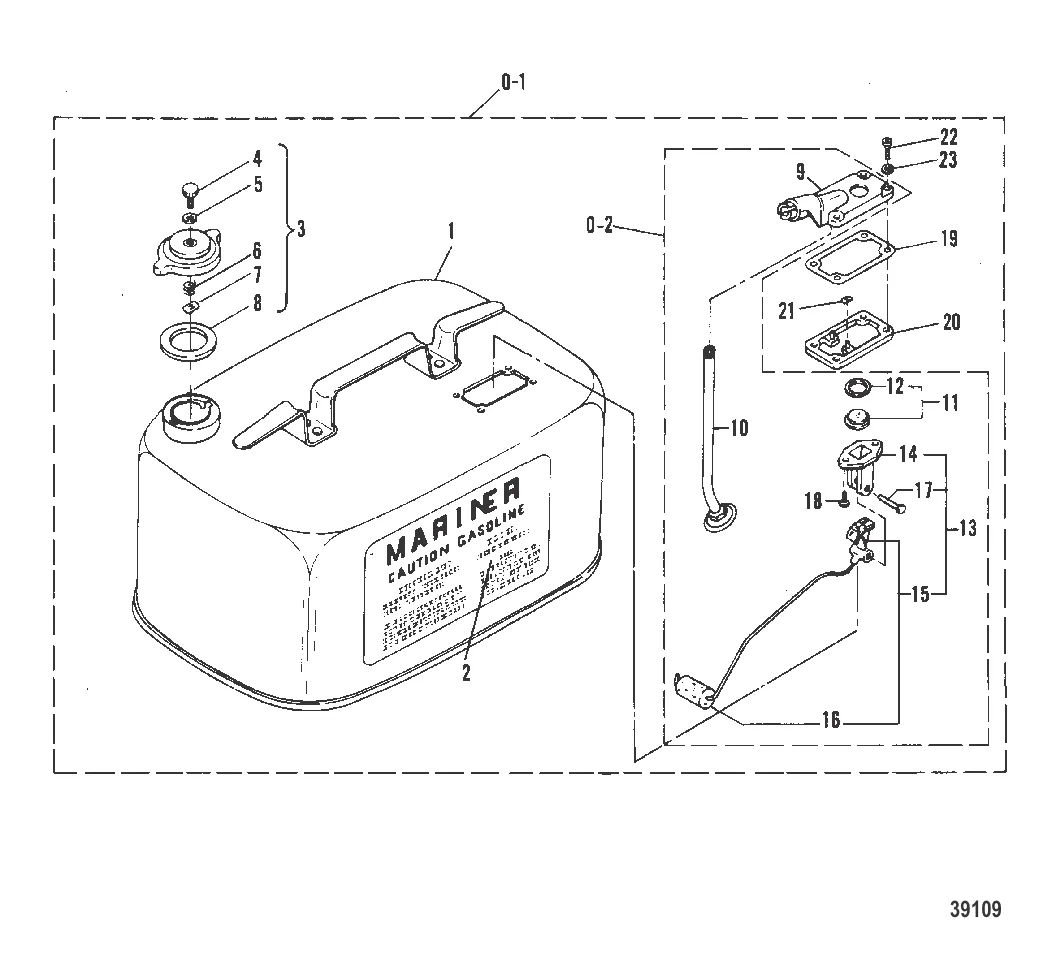
ТОПЛИВНЫЙ БАК В СБОРЕ (НЕОРИГИНАЛЬНЫЙ БАК) — [6E9-100101 THRU 6E9-105013 (E)] - Canada — купить в Victory Marine
ТОПЛИВНЫЙ БАК В СБОРЕ (НЕОРИГИНАЛЬНЫЙ БАК)
1
2
3
4
5
6
7
8
9
10
11
12
13
14
15
16
17
18
19
20
21
22
23

ТОПЛИВНЫЙ БАК В СБОРЕ (НЕОРИГИНАЛЬНЫЙ БАК)

Уточняйте

5 067 ₽

2 . НАКЛЕЙКА 13921

99734A1 → 13921

Уточняйте

7 088 ₽

4 . ВИНТ Mercury 25575

25383 → 25575

Уточняйте

77 ₽

Уточняйте

Уточняйте

608 ₽

Уточняйте

10 . ТРУБА Mercury 75239

33909A3 → 75239

3 155 ₽

Уточняйте

46 ₽

Уточняйте

Уточняйте

Уточняйте

Уточняйте

Уточняйте

136 ₽

989 ₽

Уточняйте

280 ₽

Уточняйте

Уточняйте

Полезные статьи

Все статьи →
Связаться с нами