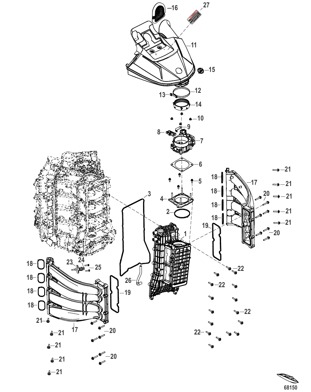
Система впуска Конструкция II
45 768 ₽
1 667 ₽
3 934 ₽
7 761 ₽
7 350 ₽
374 ₽
736 ₽
9 040 ₽
33 824 ₽
Уточняйте
7 500 ₽
304 ₽
63 ₽
19 629 ₽
19 478 ₽
1 451 ₽
1 643 ₽
45 ₽
1 666 ₽
1 754 ₽
1 416 ₽
6 456 ₽
31 083 ₽
30 694 ₽
Уточняйте
2 221 ₽
177 ₽
177 ₽
Уточняйте
56 606 ₽
93 ₽
634 ₽
Уточняйте
148 ₽