Шарнирный кронштейн и рычаг рулевого механизма — [0G857000 THRU 0T999519] - USA — купить в Victory Marine
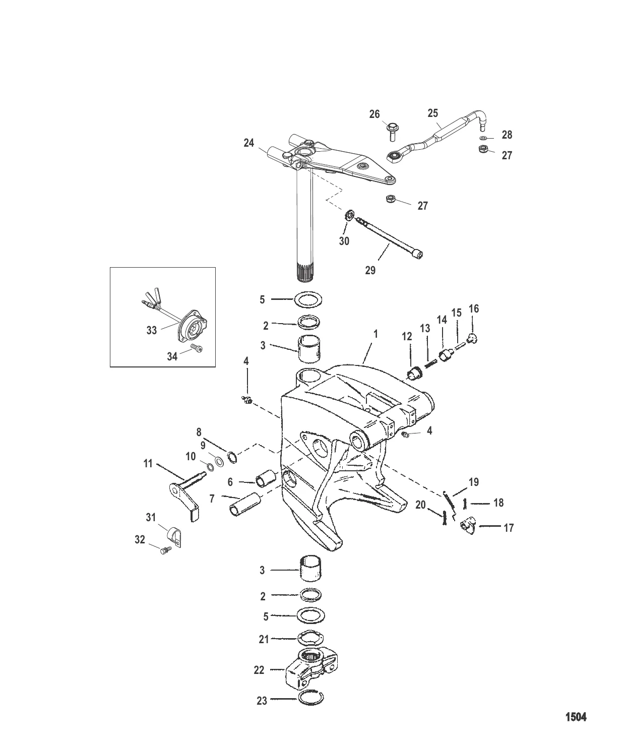
Шарнирный кронштейн и рычаг рулевого механизма
1
2
3
4
5
6
7
8
9
10
12
13
14
15
16
17
18
19
20
21
22
24
25
26
29
30
31
32
33
34

Шарнирный кронштейн и рычаг рулевого механизма

1 . SWIVEL BRACKET 8M0145740

818810T16 → 8M0145740

427 532 ₽

317 410 ₽

4 068 ₽

7 304 ₽

Уточняйте

3 244 ₽

5 686 ₽

5 684 ₽

5 649 ₽

10 830 ₽

2 915 ₽

224 ₽

Уточняйте

5 906 ₽

Уточняйте

9 593 ₽

1 948 ₽

1 898 ₽

1 328 ₽

1 306 ₽

3 489 ₽

667 ₽

2 212 ₽

615 ₽

1 726 ₽

6 853 ₽

44 260 ₽

3 994 ₽

24 . PIN-SWIVEL Mercury 8M0056723

8M0028057 → 8M0056723

153 926 ₽

24 . PIN-SWIVEL Mercury 879330T36

8M0028077 → 879330T36

109 707 ₽

16 472 ₽

2 549 ₽

27 . ГАЙКА (0.375-24), латунь Mercury 8M0042636

826709113 → 34863 → 20509 → 8M0042636

Уточняйте

75 ₽

29 . ВИНТ Mercury 132121

13212 → 132121

3 632 ₽

637 ₽

646 ₽

346 ₽

52 624 ₽

208 ₽

Полезные статьи

Все статьи →
Связаться с нами