Ручной стартер — [0R411838 & Up] - USA — купить в Victory Marine
Ручной стартер
2
3
4
5
6
7
8
9
10
11
12
13
14
15
19
20
21
22
25
26
27
28
29

Ручной стартер

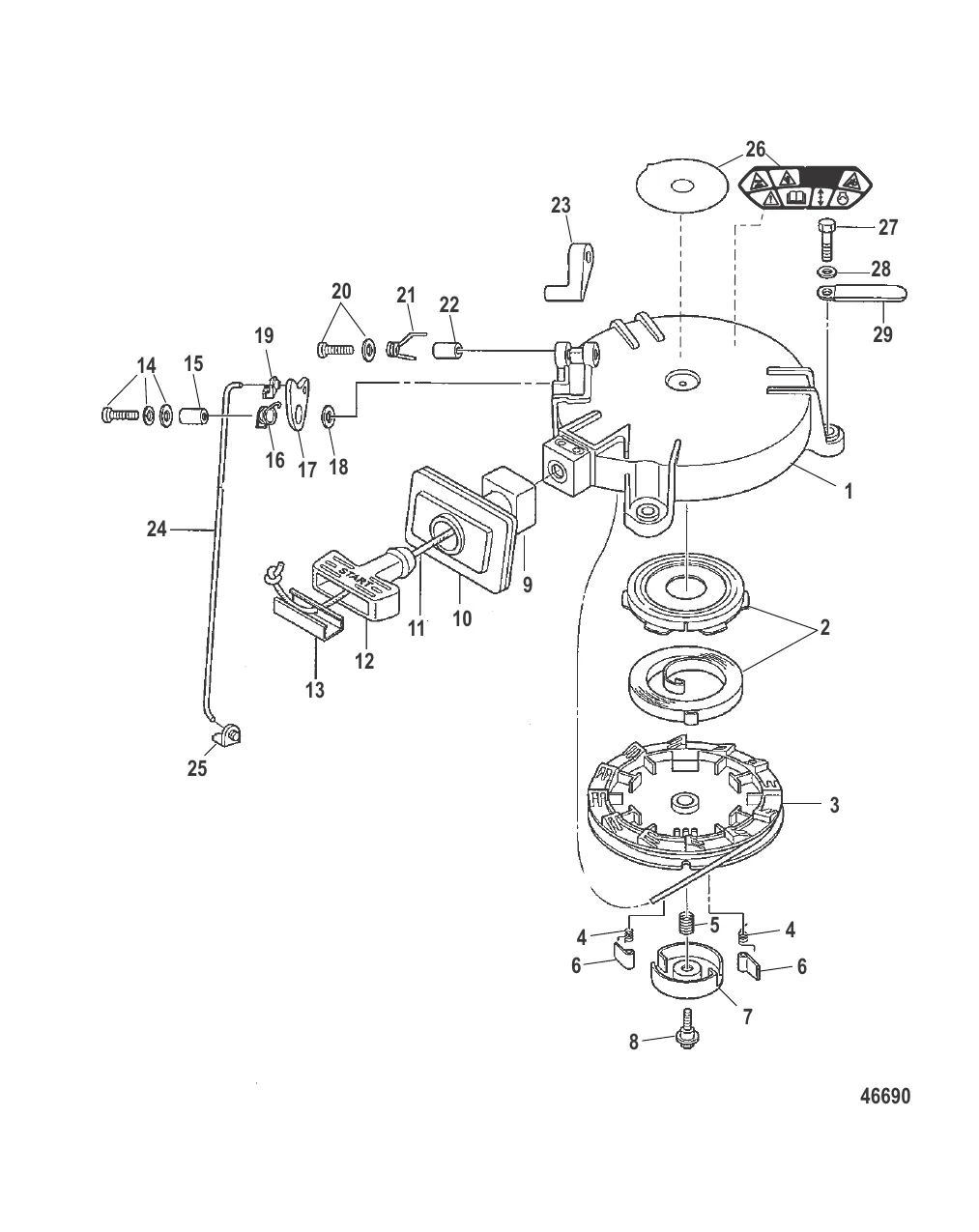
1 . Корпус стартера 812632002

8M0073416 → 812632 → 803576T → 812632002

8 956 ₽

5 450 ₽

2 762 ₽

420 ₽

203 ₽

416 ₽

905 ₽

722 ₽

3 774 ₽

950 ₽

2 741 ₽

1 204 ₽

13 . ANCHOR Mercury 8M0084137

853755001 → 8M0084137

787 ₽

219 ₽

349 ₽

157 ₽

332 ₽

133 ₽

193 ₽

1 089 ₽

247 ₽

335 ₽

371 ₽

260 ₽

25 . Фиксатор 176431

17643 → 176431

Уточняйте

Уточняйте

Уточняйте

84 ₽

371 ₽

28 . Шайба 400256

16819 → 95303 → 400256

225 ₽

29 . зажим Mercury 8M0130961

95306 → 8M0130961

126 ₽

Полезные статьи

Все статьи →
Связаться с нами