Крепления двигателя — [0M600000 THRU 0W059999] — купить в Victory Marine
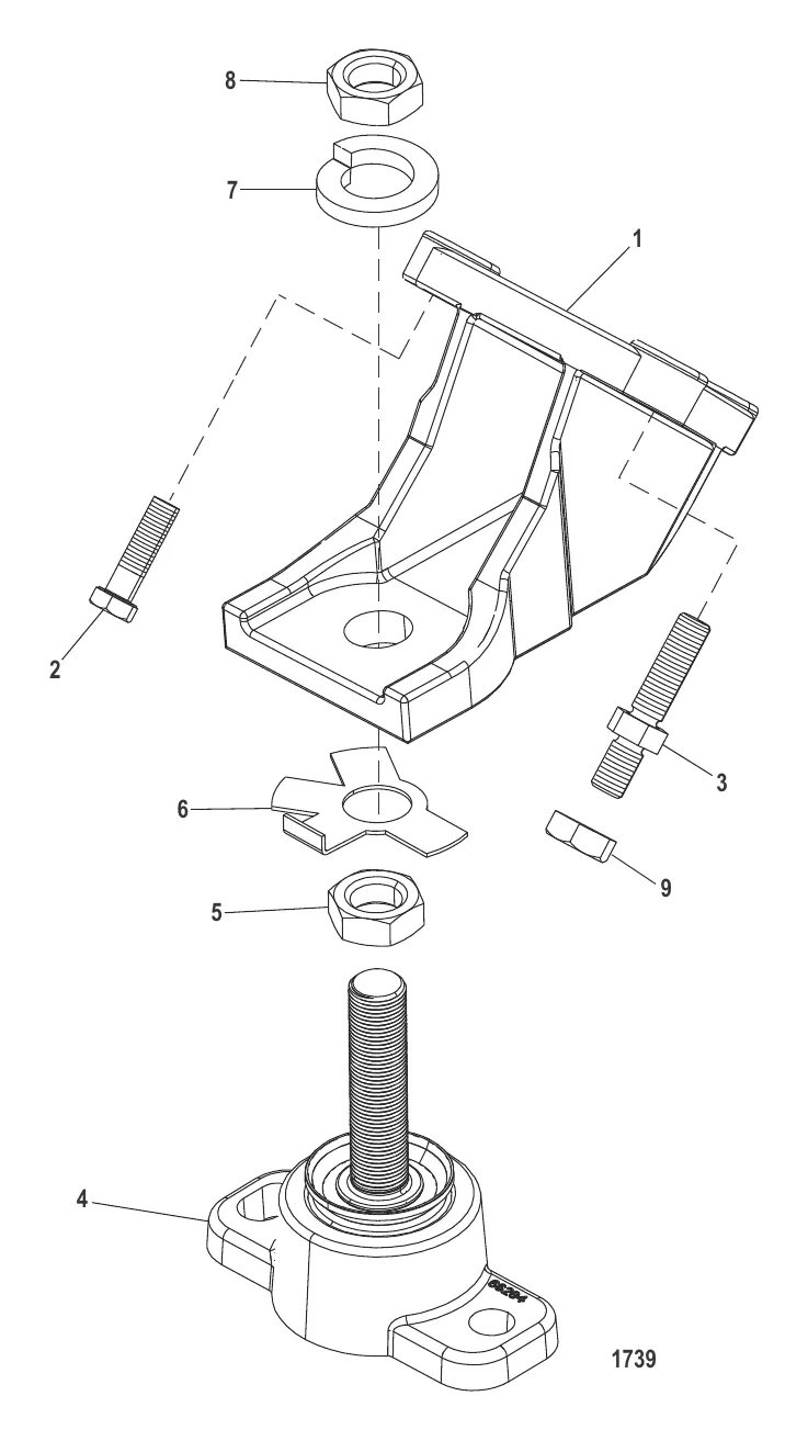
Крепления двигателя
1
3
4
6
7
8
9

Крепления двигателя

39 401 ₽

400 ₽

300 ₽

24 171 ₽

566 ₽

249 ₽

740 ₽

831 ₽

Полезные статьи

Все статьи →
Связаться с нами