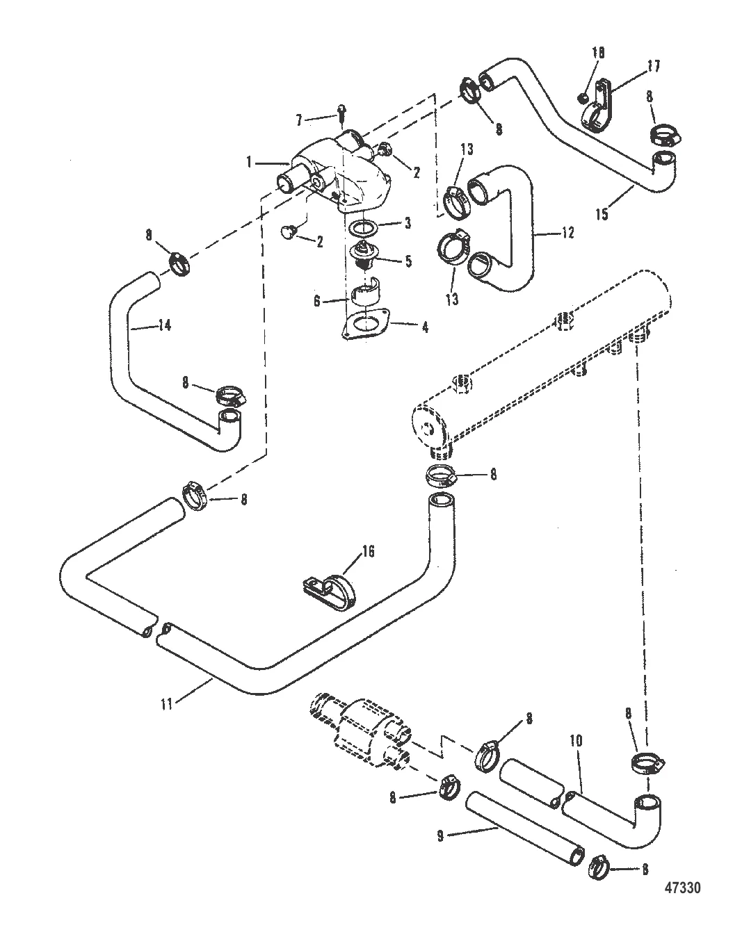
КОРПУС ТЕРМОСТАТА (СТАНДАРТНАЯ СИСТЕМА ОХЛАЖДЕНИЯ) — 1995-1996 [0F305000 THRU 0F801699] - Belgium — купить в Victory Marine
КОРПУС ТЕРМОСТАТА (СТАНДАРТНАЯ СИСТЕМА ОХЛАЖДЕНИЯ)
2
7
10
11
12
14
15
16
17
18

КОРПУС ТЕРМОСТАТА (СТАНДАРТНАЯ СИСТЕМА ОХЛАЖДЕНИЯ)

Уточняйте

Уточняйте

600 ₽

5 . 8M0109441 Термостат Mercruiser 3.0-8.1 ( QUICKSILVER )

8M0091470 → 807252T2 → 8072522 → 8052732 → 8M0109441

5 800 ₽

1 900 ₽

678 ₽

989 ₽

33 459 ₽

7 785 ₽

4 104 ₽

12 . РУКАВ Mercury 897183

897182 → 897183

10 502 ₽

1 109 ₽

4 091 ₽

7 256 ₽

Уточняйте

792 ₽

313 ₽

Полезные статьи

Все статьи →
Связаться с нами