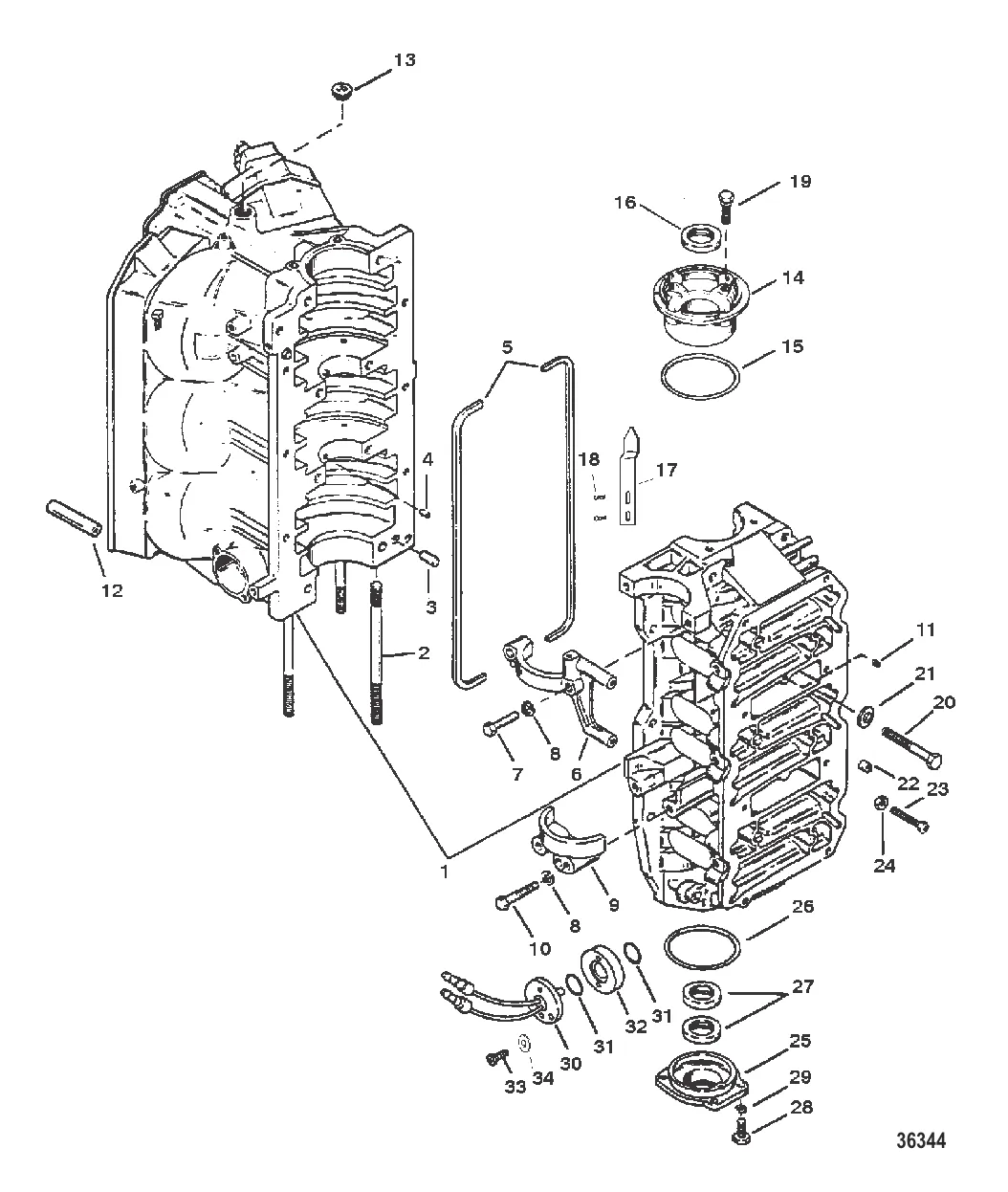
БЛОК ЦИЛИНДРОВ И КОЛПАЧКИ — [0D181027 & Up] - USA — купить в Victory Marine
БЛОК ЦИЛИНДРОВ И КОЛПАЧКИ
1
2
4
5
6
7
8
9
10
11
13
14
17
20
21
22
23
24
25
26
28
30
32
33
34

БЛОК ЦИЛИНДРОВ И КОЛПАЧКИ

1 216 900 ₽

5 374 ₽

5 373 ₽

306 ₽

4 . ШТИФТ Mercury 8M0036405

67296 → 8M0036405

462 ₽

242 ₽

20 574 ₽

567 ₽

134 ₽

9 . КРЫШКА Mercury 76867

66761 → 56030 → 76867

4 193 ₽

535 ₽

11 . Клапан 42657A3

42657A1 → 56011A2 → 56011A1 → 42657A3

1 103 ₽

8 732 ₽

1 012 ₽

70 497 ₽

684 ₽

9 431 ₽

225 ₽

113 ₽

631 ₽

1 467 ₽

20 . ВИНТ Mercury 8231991

823199 → 8231991

597 ₽

536 ₽

565 ₽

448 ₽

24 . ГАЙКА (0.250-20) Mercury 64015

F1341 → F15051 → 64015

266 ₽

26 538 ₽

579 ₽

Уточняйте

251 ₽

260 ₽

109 ₽

30 . датчик Mercury 13221T01

13221A1 → 13221T01

12 389 ₽

198 ₽

4 955 ₽

689 ₽

146 ₽

507 ₽

Полезные статьи

Все статьи →
Связаться с нами