БЛОК ЦИЛИНДРОВ И КАРТЕР — [0A996142 THRU 0B240450] - USA - Cat.# 90-13725 — купить в Victory Marine
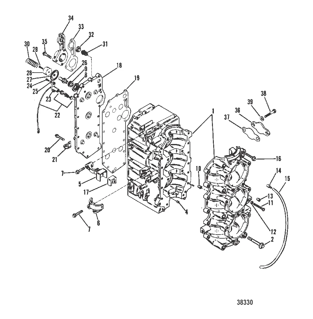
БЛОК ЦИЛИНДРОВ И КАРТЕР
2
5
6
7
8
9
10
11
12
13
14
15
17
18
21
23
25
26
27
28
29
30
31
32
34
35
36
37
38
39

БЛОК ЦИЛИНДРОВ И КАРТЕР

1 . блок цилиндров Mercury 8947T49

8947A49 → 8947A36 → 8947A22 → 8947T49

216 834 ₽

1 . блок цилиндров Mercury 8947T51

8947A51 → 8947A19 → 8947T51

278 556 ₽

1 . блок цилиндров Mercury 8947T50

8947A50 → 8947A37 → 8947A23 → 8947T50

216 834 ₽

575 ₽

306 ₽

Уточняйте

6 . КРЫШКА Mercury 76867

66761 → 56030 → 76867

4 193 ₽

161 ₽

400 ₽

385 ₽

10 . Клапан 42657A3

42657A1 → 56011A2 → 56011A1 → 42657A3

1 103 ₽

410 ₽

257 ₽

289 ₽

14 . 426233 ОБРАТНЫЙ КЛАПАН Mercury

426231 → 42623 → 91933 → 426233

Уточняйте

6 600 ₽

845 ₽

37 059 ₽

19 . ПРОКЛАДКА Mercury 430057

430056 → 430055 → 430053 → 430052 → 430051 → 430057

2 495 ₽

1 159 ₽

16 408 ₽

626 ₽

225 ₽

146 ₽

1 122 ₽

1 077 ₽

387 ₽

223 ₽

221 ₽

2 817 ₽

32 . Прокладка 62386001

62386 → 62386B → 62386001

221 ₽

33 . ПРОКЛАДКА Mercury 430068

430067 → 430066 → 430065 → 430063 → 430062 → 430061 → 430068

1 037 ₽

6 383 ₽

35 . ВИНТ (M8 x 35 мм) Mercury 82127335

81742735 → 4011135 → 82127335

316 ₽

1 065 ₽

432 ₽

223 ₽

318 ₽

Полезные статьи

Все статьи →
Связаться с нами