Топливный насос в сборе — [0E406400 & Up] - USA — купить в Victory Marine
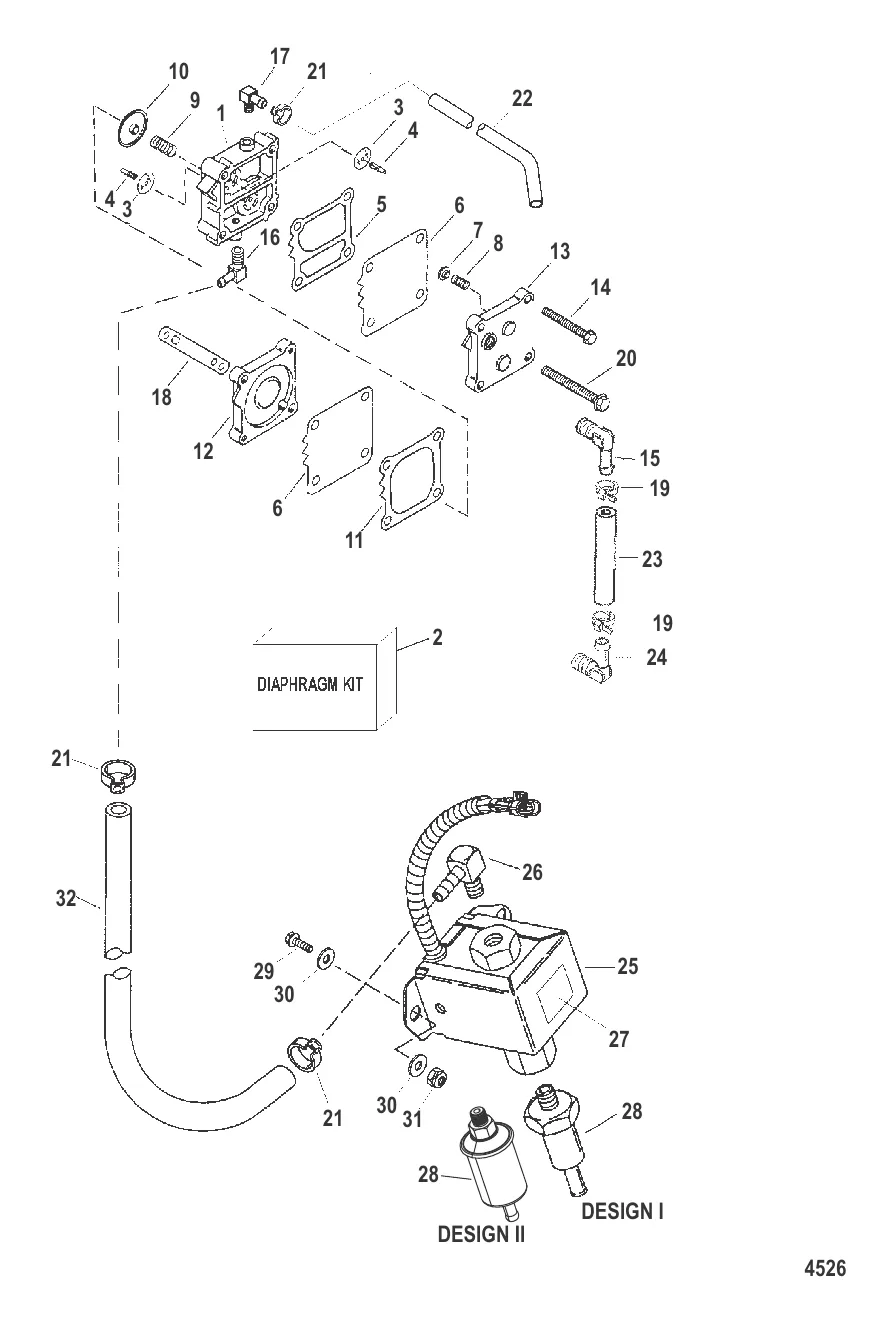
Топливный насос в сборе
1
12
13
14
17
18
19
20
21
26
27
28
29
30
32

Топливный насос в сборе

38 786 ₽

2 . Комплект диафрагм 857005A1

42990A10 → 42990A7 → 42990A4 → 42990A1 → 857005A1

4 375 ₽

12 . БАЗА Mercury 144303

144301 → 144303

2 993 ₽

3 959 ₽

291 ₽

2 132 ₽

70 ₽

45 ₽

452 ₽

787 ₽

10 719 ₽

298 ₽

58 596 ₽

7 087 ₽

Уточняйте

2 704 ₽

264 ₽

318 ₽

617 ₽

5 224 ₽

Полезные статьи

Все статьи →
Гайды и подбор

Спасательный жилет для рыбалки — как выбрать по требованиям ГИМС

Как выбрать спасательный жилет, который и ГИМС устроит, и рыбачить в нём удобно. Отличие спасательного от страховочного, размеры, плавучесть, что проверяют инспекторы.

1 мин.
Гайды и подбор

Лодка перевернулась — порядок действий и как этого избежать

Переворот лодки — экстренная ситуация, но не приговор, если знаешь что делать. Разбираем пошаговый алгоритм действий, способы подачи сигнала и главное — как не допустить опрокидывания.

1 мин.
Гайды и подбор

Как правильно перевозить лодочный мотор в машине — 2Т и 4Т

Правила транспортировки двухтактных и четырёхтактных лодочных моторов в автомобиле. Почему положение при перевозке критически важно, как подготовить топливную систему и чем грозят ошибки — разбираем на примерах Mercury.

1 мин.
Связаться с нами