ТОПЛИВНЫЙ НАСОС И ТОПЛИВНЫЙ ФИЛЬТР — 5.7L MIE GM 350 V-8 — купить в Victory Marine
ТОПЛИВНЫЙ НАСОС И ТОПЛИВНЫЙ ФИЛЬТР
2
3
5
6
7
8
10
11
12
13
16
17
18
20
21
23
24
25
26
27

ТОПЛИВНЫЙ НАСОС И ТОПЛИВНЫЙ ФИЛЬТР

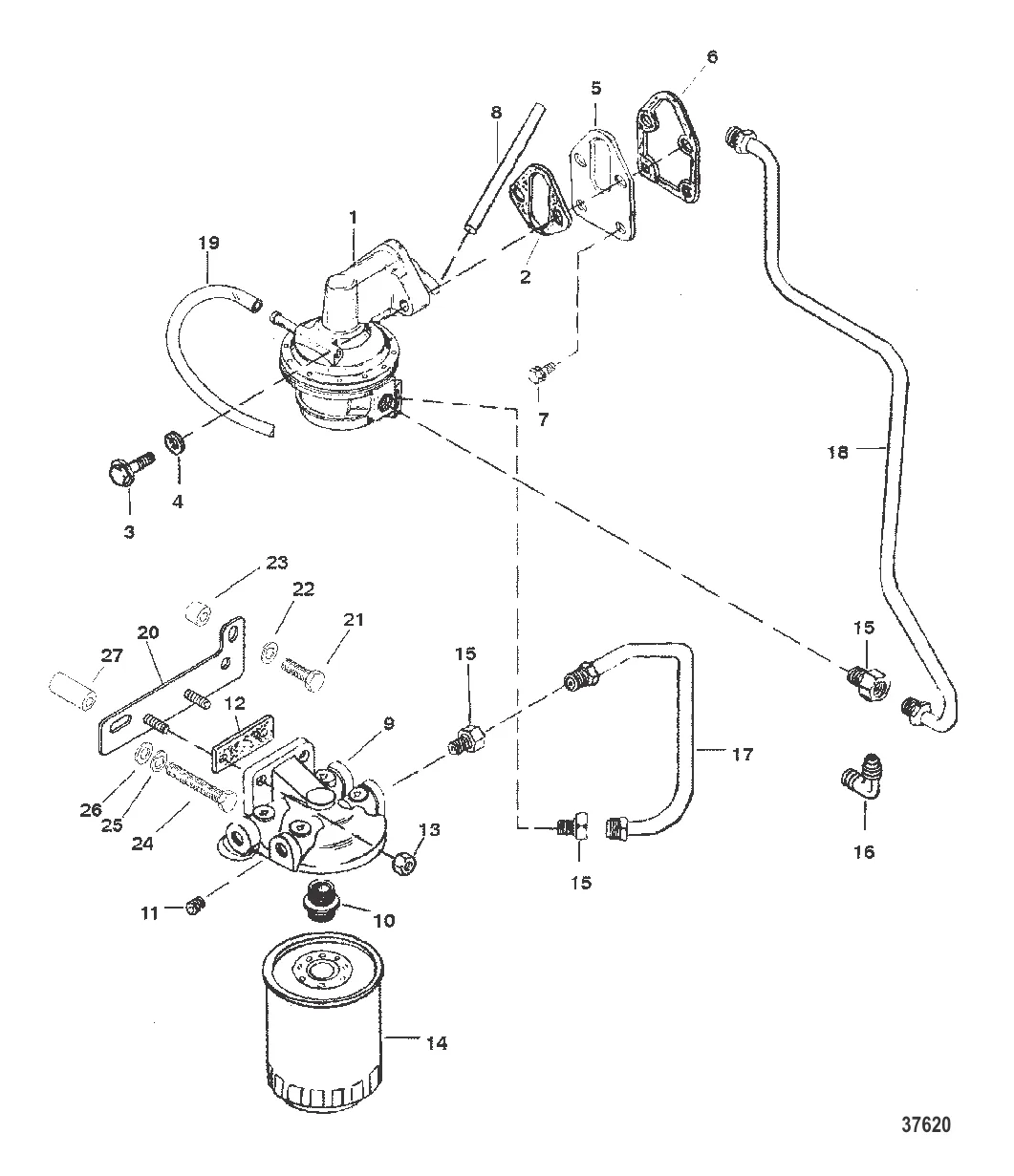
1 . ТОПЛИВНЫЙ НАСОС МЕХАНИЧЕСКИЙ MERCRUISER 4.3/5.0/5.7L

861678A1 → 97401A8 → 97401A2 → 97401 → 8M0058164

19 990 ₽

332 ₽

247 ₽

5 793 ₽

727 ₽

7 . ВИНТ Mercury 8M0040582

35366 → 14762 → 8M0040582

1 705 ₽

Уточняйте

7 900 ₽

2 036 ₽

11 . Заглушка 32561

48340 → 60667 → 64759 → 32561

438 ₽

2 032 ₽

607 ₽

14 . 802893Q01 Фильтр топливный MerCruiser (QUICKSILVER)

802893Q → 807172 → 806771 → 8052691 → 604941 → 60494A5 → 57250 → 55501 → 52456 → 802893Q01

2 700 ₽

1 247 ₽

2 633 ₽

8 801 ₽

5 953 ₽

9 696 ₽

4 792 ₽

4 859 ₽

248 ₽

3 660 ₽

467 ₽

25 . Шайба 35048

37459 → 27969 → 35048

171 ₽

171 ₽

Уточняйте

Полезные статьи

Все статьи →
Гайды и подбор

Какой катер выбрать для рыбалки — типы, размеры и комплектация

Выбор катера для рыбалки — задача, которая зависит от водоёма, целевой рыбы и бюджета. Разбираем типы корпусов, оптимальные размеры, мощность мотора и обязательное оснащение рыболовного катера.

1 мин.
Гайды и подбор

Как определить год выпуска мотора Mercury по серийному номеру

Подробная инструкция по расшифровке серийного номера подвесных моторов Mercury, MerCruiser и Mariner. Полные таблицы серийных диапазонов с 1980-х по 2026 год, пошаговые примеры и советы по подбору запчастей.

3 мин.
Гайды и подбор

Безопасность на лодке с детьми — правила, снаряжение, советы

Как безопасно отдыхать на лодке с детьми: требования ГИМС, выбор детского спасательного жилета, правила поведения на борту. Практические советы от опытных судоводителей для семейных поездок на воде.

1 мин.
Связаться с нами