ТОПЛИВНЫЙ НАСОС — [6E9-500101 & Up] - Belgium — купить в Victory Marine
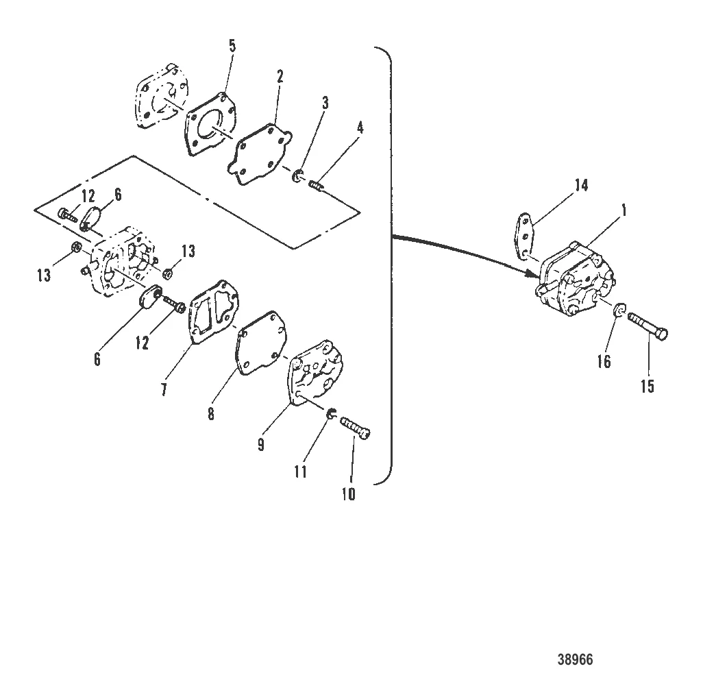
ТОПЛИВНЫЙ НАСОС
1
2
3
4
5
6
7
8
9
10
11
12
13
14
15
16

ТОПЛИВНЫЙ НАСОС

20 501 ₽

5 867 ₽

Уточняйте

Уточняйте

1 376 ₽

2 507 ₽

2 140 ₽

1 641 ₽

Уточняйте

10 . ВИНТ Mercury 82522M

804362 → 82522M

Уточняйте

11 . ШАЙБА Mercury 82186M

82208M → 82193M → 82186M

Уточняйте

Уточняйте

13 . ГАЙКА Mercury 82537M

82373M → 82537M

Уточняйте

322 ₽

15 . БОЛТ Mercury 827043M

82428M → 827043M

161 ₽

16 . ШАЙБА Mercury 82214M

82199M → 82214M

22 ₽

Полезные статьи

Все статьи →
Связаться с нами