ТОПЛИВНЫЙ НАСОС — [695-550101 THRU 555959] - USA — купить в Victory Marine
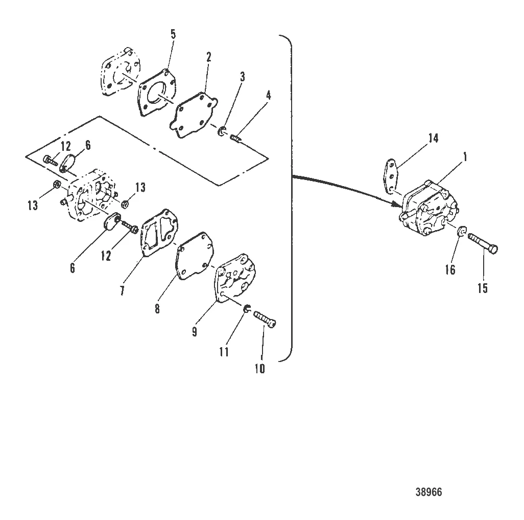
ТОПЛИВНЫЙ НАСОС
2
3
4
5
6
7
8
9
10
11
12
13
14
15
16

ТОПЛИВНЫЙ НАСОС

20 501 ₽

5 867 ₽

Уточняйте

Уточняйте

1 376 ₽

2 507 ₽

Уточняйте

1 056 ₽

2 140 ₽

1 641 ₽

Уточняйте

10 . ВИНТ Mercury 82522M

804362 → 82522M

Уточняйте

11 . ШАЙБА Mercury 82186M

82208M → 82193M → 82186M

Уточняйте

Уточняйте

12 . винт Mercury 813484M

82510M → 813484M

Уточняйте

13 . ГАЙКА Mercury 82537M

82373M → 82537M

Уточняйте

322 ₽

15 . БОЛТ Mercury 827043M

82428M → 827043M

161 ₽

16 . ШАЙБА Mercury 82214M

82199M → 82214M

22 ₽

Полезные статьи

Все статьи →
Гайды и подбор

Солнечная батарея для лодки — зарядка аккумулятора на воде без берега

Разбираемся, какую солнечную панель поставить на лодку, чтобы аккумулятор не сдох посреди водохранилища. Гибкие, жёсткие, складные — считаем ватты, выбираем контроллер и собираем автономную систему.

1 мин.
Обслуживание и ремонт

Лодочный мотор не заводится — причины и пошаговая диагностика

Мотор молчит? Разбираем по шагам: искра, топливо, компрессия. Типичные причины отказа запуска по сезонам и что можно починить прямо на воде своими руками.

1 мин.
Гайды и подбор

Бензобак для лодочного мотора — как выбрать объём, материал и подключить

Гид по выбору бензобака для подвесного мотора: встроенный или переносной, пластик или металл, объёмы от 12 до 25 литров, подключение топливных шлангов и правила безопасности.

1 мин.
Связаться с нами