Топливный бак — [0T894439 & Up] - USA — купить в Victory Marine
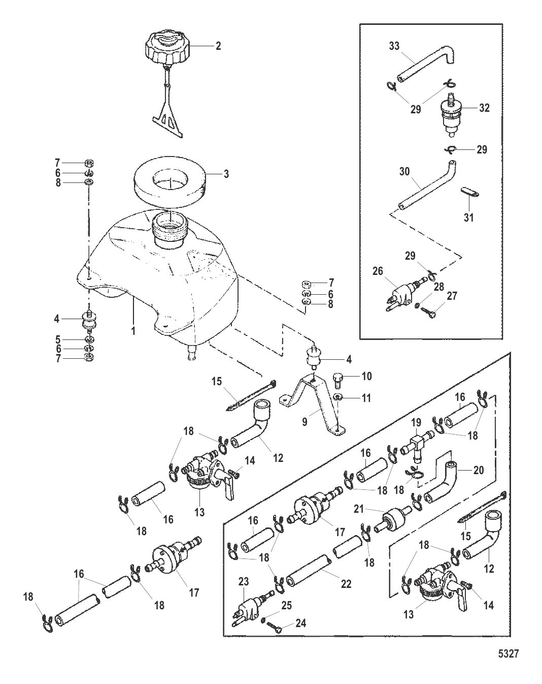
Топливный бак
1
2
3
4
5
8
9
10
11
12
13
14
15
16
19
20
21
22
27
30
31
33

Топливный бак

Уточняйте

12 618 ₽

2 . ПРОБКА Mercury 824962A2

824961A2 → 824962A2

Уточняйте

510 ₽

1 101 ₽

698 ₽

5 . Шайба 953921

16237 → 16224 → 953921

284 ₽

257 ₽

8 . ШАЙБА Mercury 898101937

16238 → 898101937

416 ₽

1 368 ₽

221 ₽

11 . Шайба 400256

16819 → 95303 → 400256

225 ₽

729 ₽

2 143 ₽

133 ₽

28 ₽

2 786 ₽

506 ₽

20 . HOSE 8M0168427

815049 → 8M0168427

551 ₽

2 813 ₽

142 ₽

Уточняйте

439 ₽

133 ₽

491 ₽

252 ₽

2 800 ₽

455 ₽

Полезные статьи

Все статьи →
Связаться с нами