Стартер в сборе — 1999 [0E345000 THRU 0E369299] - USA — купить в Victory Marine
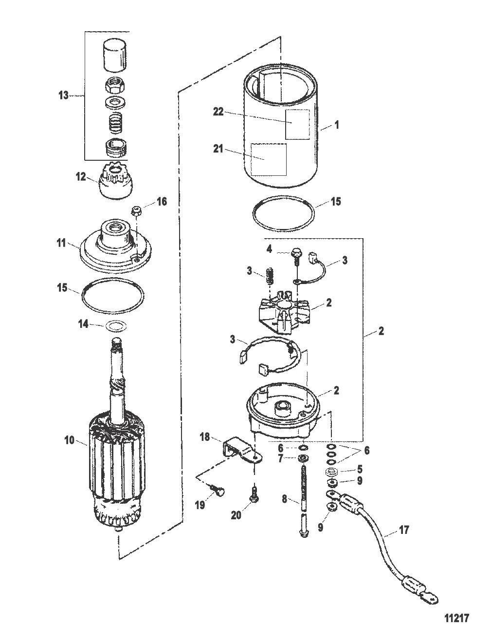
Стартер в сборе
1
2
3
4
5
6
7
8
9
10
11
12
13
14
15
16
17
18
20
22

Стартер в сборе

1 . стартер Mercury 898265003

819968T4 → 898265003

52 285 ₽

10 302 ₽

5 454 ₽

243 ₽

5 . шайба Mercury 804700

F15160 → 804700

22 ₽

159 ₽

126 ₽

1 686 ₽

9 . ГАЙКА Mercury F15162

F15072 → F15162

89 ₽

30 879 ₽

Уточняйте

12 . DRIVE ASSY Mercury 802640T

802640 → 820583 → 802640T

5 272 ₽

8 435 ₽

Уточняйте

325 ₽

Уточняйте

1 691 ₽

702 ₽

Уточняйте

1 392 ₽

Полезные статьи

Все статьи →
Связаться с нами