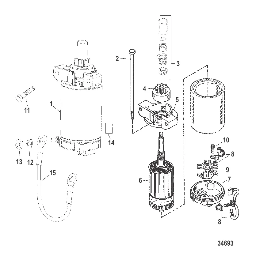
СТАРТЕР (С/Н 0G472133 И ВЫШЕ) — [0G231123 THRU 0G760299] - USA — купить в Victory Marine
СТАРТЕР (С/Н 0G472133 И ВЫШЕ)
1
2
3
4
5
6
7
8
9
10
11
13
14

СТАРТЕР (С/Н 0G472133 И ВЫШЕ)

1 . стартер Mercury 898265001

859171T → 898265001

41 040 ₽

Уточняйте

10 564 ₽

10 942 ₽

6 298 ₽

22 852 ₽

Уточняйте

8 . Щетка 898265016

75384 → 57390 → 898265016

3 021 ₽

1 031 ₽

243 ₽

675 ₽

109 ₽

13 . ГАЙКА (0.250-20) Mercury 64015

F1341 → F15051 → 64015

266 ₽

573 ₽

3 056 ₽

Полезные статьи

Все статьи →
Связаться с нами