Популярные города
Товаров не найдено, но мы можем привезти под заказ
Нет аккаунта?
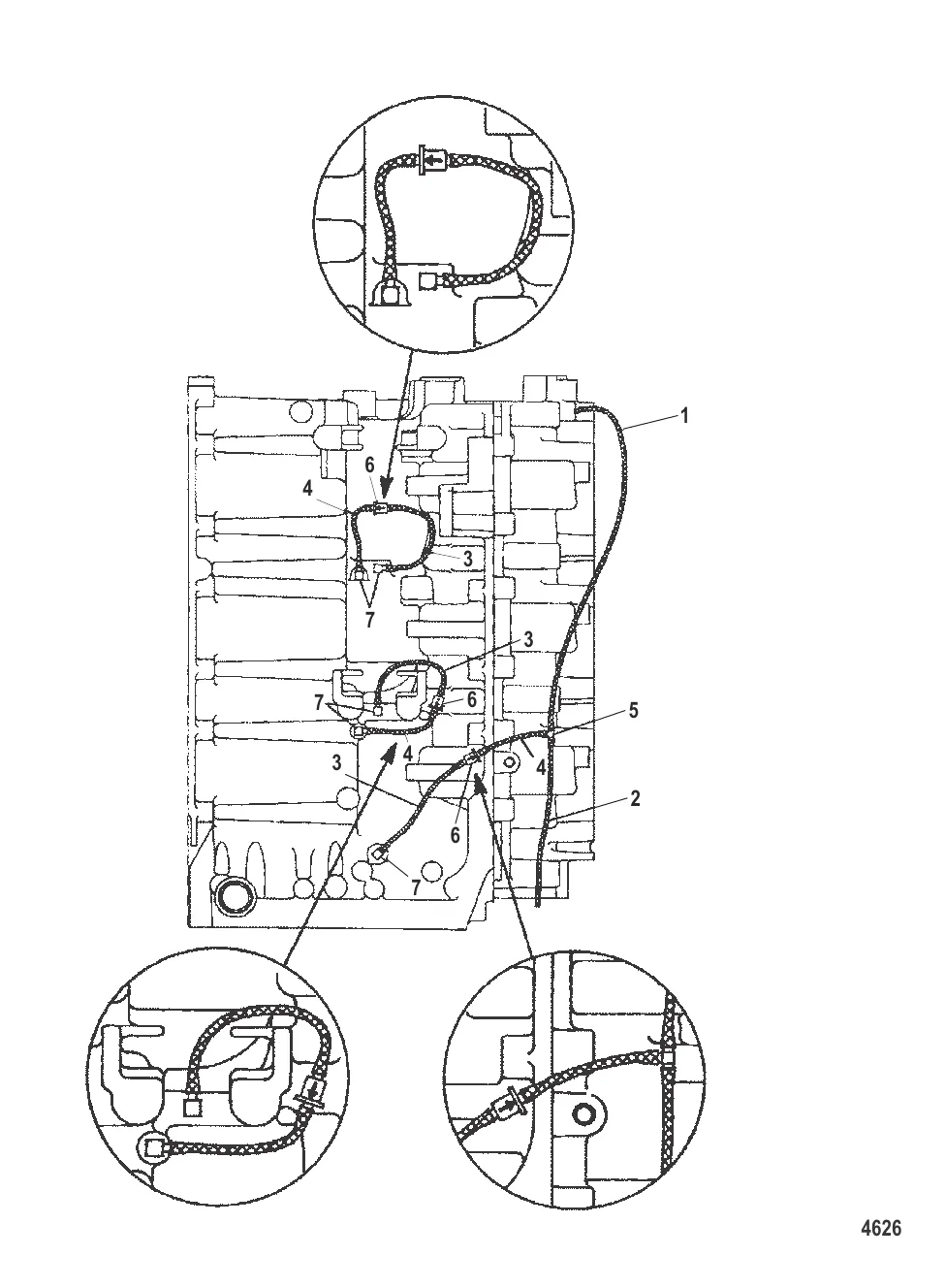
Шланг топливный 892024122
99130122 → 892024122
ФИТИНГ Тройник Mercury 59169003
591692 → 59169003
ОБРАТНЫЙ КЛАПАН Mercury 149126
14912 → 149126
ФИТИНГ Mercury 15133
71191 → 15133
6 600 ₽
851 ₽
2 582 ₽
2 033 ₽
Полное руководство по ловле судака с лодки: выбор места, джиг и троллинг, подбор приманок, использование эхолота и типичные ошибки начинающих.
Ладожское озеро — крупнейший пресный водоём Европы и настоящий рыболовный клондайк. Разбираем лучшие места, видовой состав, сезонный календарь и правила безопасности на «большой воде».
Что означает плотность ПВХ ткани лодки 750, 850 или 1100 г/м² и как она влияет на прочность, вес и срок службы. Развенчиваем мифы и помогаем выбрать оптимальную плотность для ваших задач.
Контакты
+7 800 555-65-49
Бесплатно по России — нажмите, чтобы позвонить
Написать нам
Перезвоните мне
Оставьте номер — наш эксперт перезвонит и подберёт нужные запчасти
Нажимая кнопку, вы соглашаетесь на обработку персональных данных
Наш эксперт свяжется с вами в ближайшее время
Скидка будет применена к вашему заказу