Система впуска Конструкция II — [2B529482 & Up] - USA — купить в Victory Marine
Система впуска Конструкция II
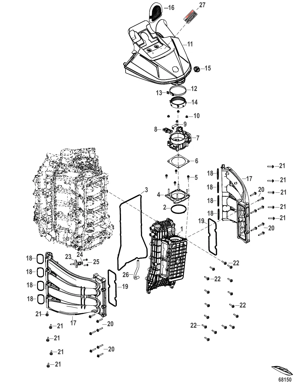
1
2
3
4
6
7
8
9
10
11
12
13
14
15
16
17
19
20
21
22
24
25
26
27

Система впуска Конструкция II

45 768 ₽

1 667 ₽

3 934 ₽

7 761 ₽

7 350 ₽

374 ₽

736 ₽

9 040 ₽

7 . THROTTLE BODY 8M0158565

8M0142276 → 8M0158565

33 824 ₽

7 . THROTTLE BODY 8M0158067

8M0114805 → 8M0158067

Уточняйте

7 500 ₽

304 ₽

63 ₽

19 629 ₽

19 478 ₽

1 451 ₽

1 643 ₽

45 ₽

1 666 ₽

1 754 ₽

1 395 ₽

6 456 ₽

31 083 ₽

30 694 ₽

Уточняйте

2 221 ₽

177 ₽

177 ₽

Уточняйте

56 606 ₽

93 ₽

634 ₽

Уточняйте

148 ₽

Полезные статьи

Все статьи →
Связаться с нами