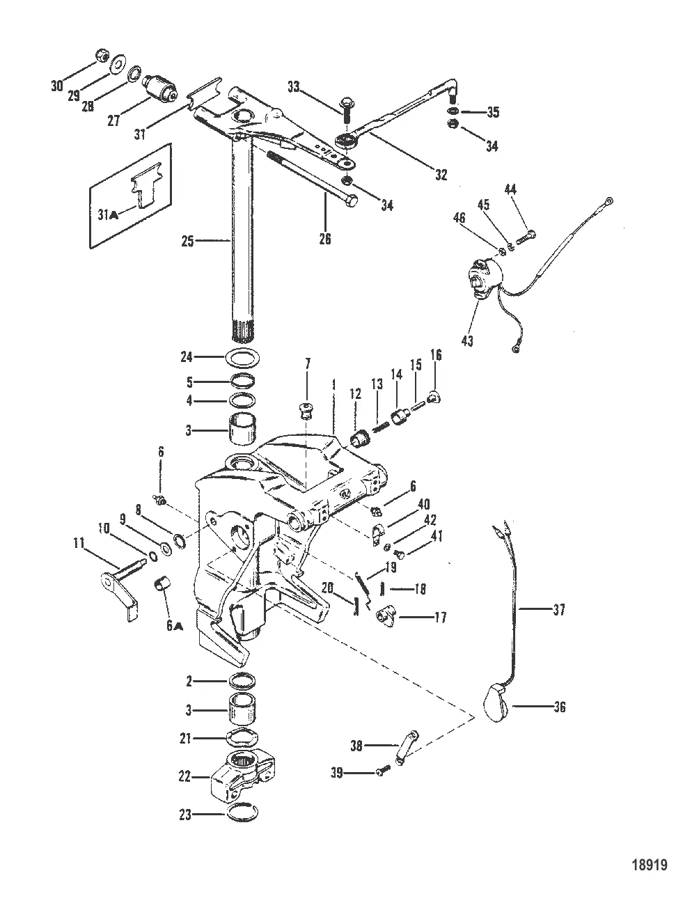
Шарнирный кронштейн и рычаг рулевого механизма — [4868998 THRU 0A904645] - Cat.# 90-818855 — купить в Victory Marine
Шарнирный кронштейн и рычаг рулевого механизма
2
3
4
5
6
7
8
9
10
12
13
14
15
16
17
18
19
20
21
23
24
26
27
28
29
31
32
33
37
38
39
40
41
44
45
46

Шарнирный кронштейн и рычаг рулевого механизма

Уточняйте

Уточняйте

109 511 ₽

276 609 ₽

4 883 ₽

3 . Втулка 818764

67669 → 818764

4 478 ₽

329 ₽

663 ₽

Уточняйте

1 139 ₽

226 ₽

2 915 ₽

224 ₽

Уточняйте

Уточняйте

5 906 ₽

9 593 ₽

1 948 ₽

1 898 ₽

1 328 ₽

1 306 ₽

3 489 ₽

324 ₽

2 212 ₽

615 ₽

1 726 ₽

Уточняйте

561 ₽

Уточняйте

54 542 ₽

Уточняйте

26 . SCREW 8M0176309

8M0000491 → 8M0176309

1 547 ₽

27 . КРЕПЛЕНИЕ Mercury 78687T

78687 → 67209 → 78687T

5 852 ₽

741 ₽

236 ₽

900 ₽

Уточняйте

1 365 ₽

16 472 ₽

2 549 ₽

34 . ГАЙКА (0.375-24), латунь Mercury 8M0042636

826709113 → 34863 → 20509 → 8M0042636

Уточняйте

300 ₽

Уточняйте

16 090 ₽

5 008 ₽

1 496 ₽

Уточняйте

Уточняйте

544 ₽

Уточняйте

113 ₽

43 . Датчик усилителя дифферента 8M0074846

821180A6 → 821180A3 → 95164A9 → 95164A4 → 8M0074846

5 144 ₽

239 ₽

45 . Шайба 26996

20040 → 26996

140 ₽

228 ₽

Полезные статьи

Все статьи →
Связаться с нами