ШАРНИРНЫЙ КРОНШТЕЙН И РЫЧАГ РУЛЕВОГО МЕХАНИЗМА — [0G960500 THRU 0T408999] - USA — купить в Victory Marine
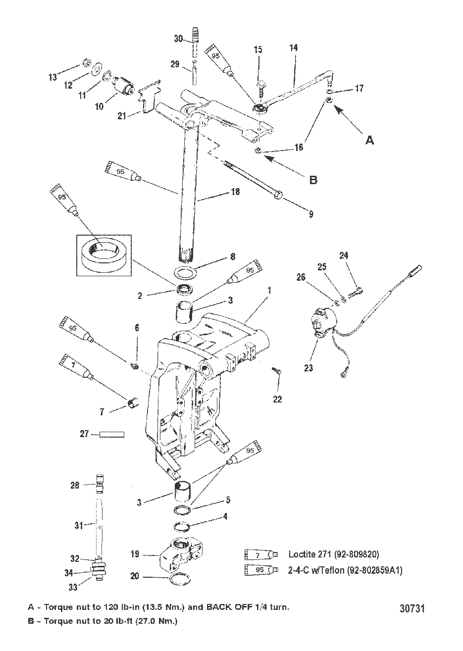
ШАРНИРНЫЙ КРОНШТЕЙН И РЫЧАГ РУЛЕВОГО МЕХАНИЗМА
2
3
4
5
6
7
8
9
10
11
12
14
15
18
20
21
22
24
25
26
27
28
29
30
32
34

ШАРНИРНЫЙ КРОНШТЕЙН И РЫЧАГ РУЛЕВОГО МЕХАНИЗМА

276 609 ₽

4 883 ₽

3 . Втулка 818764

67669 → 818764

4 478 ₽

1 803 ₽

Уточняйте

Уточняйте

1 139 ₽

884 ₽

9 . SCREW 8M0176309

8M0000491 → 8M0176309

1 547 ₽

26 246 ₽

741 ₽

236 ₽

900 ₽

16 472 ₽

2 549 ₽

16 . ГАЙКА (0.375-24), латунь Mercury 8M0042636

826709113 → 34863 → 20509 → 8M0042636

Уточняйте

75 ₽

128 040 ₽

Уточняйте

Уточняйте

21 635 ₽

561 ₽

1 978 ₽

203 ₽

23 . Датчик усилителя дифферента 8M0074846

821180A6 → 821180A3 → 95164A9 → 95164A4 → 8M0074846

5 144 ₽

239 ₽

25 . Шайба 26996

20040 → 26996

140 ₽

228 ₽

Уточняйте

786 ₽

236 ₽

471 ₽

8 272 ₽

2 652 ₽

687 ₽

78 ₽

Полезные статьи

Все статьи →
Обслуживание и ремонт

Ремонт лодки ПВХ своими руками — как заклеить прокол, порез и шов

Подробная инструкция по ремонту лодки ПВХ: выбор клея, заплатки, горячий и холодный метод склейки. Разбираем типичные повреждения и рассказываем, когда можно починить самому, а когда лучше к мастеру.

1 мин.
Обслуживание и ремонт

Покраска днища катера — антифоулинг, грунт, подготовка

Рассказываем, как правильно покрасить днище катера антифоулинговой краской. Подготовка поверхности, выбор грунта и краски, технология нанесения и типичные ошибки.

1 мин.
Гайды и подбор

Регистрация лодки через Госуслуги — пошаговая инструкция 2026

Зарегистрировать лодку или катер теперь можно через Госуслуги — без очередей в ГИМС и лишних визитов. Подробная пошаговая инструкция с перечнем документов и типичными ошибками.

1 мин.
Связаться с нами