Ручной стартер (Конструкция II) — [9461526 THRU 9792199] - Belgium — купить в Victory Marine
Ручной стартер (Конструкция II)
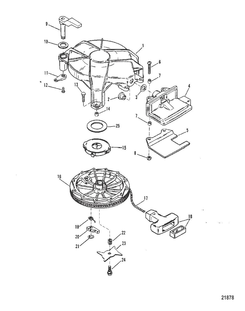
1
2
3
4
5
6
7
10
11
12
13
14
18
19
20
21
22
23
24
25

Ручной стартер (Конструкция II)

1 . ORD 8M0070659 Mercury 42207T02

422072 → 422071 → 42207T02

9 058 ₽

680 ₽

3 . КОЛЬЦО Стопор Mercury 818853

42689 → F681741 → 818853

208 ₽

4 790 ₽

1 233 ₽

152 ₽

7 . ПРОСТАВКА Mercury 309772

309771 → 30977 → 309772

619 ₽

617 ₽

2 876 ₽

146 ₽

652 ₽

12 . Болт 48408

F2209 → 48408

256 ₽

13 . ВИНТ (M6 x 1.0 x 20) Mercury 8M4503518

40011128 → 1994020 → 8M4503518

394 ₽

Уточняйте

7 232 ₽

16 . SHEAVE-стартер Mercury 42034T04

42034A4 → 4203450 → 420345 → 420343 → 42034T04

8 309 ₽

17 . Стартерная веревка 12066Q10

12066Q9 → 12066A9 → 12066 → 45093 → 12066Q10

1 069 ₽

4 307 ₽

19 . пружина 86851T02

868512 → 868511 → 86851 → 86851T02

506 ₽

2 858 ₽

21 . Стопорное кольцо 86849T01

868491 → 86849 → 86849T01

575 ₽

721 ₽

23 . CAM Mercury 86853T01

868531 → 86853 → 86853T01

1 044 ₽

373 ₽

25 . PAD-FELT Mercury 833161T

833161 → 833161T

727 ₽

Полезные статьи

Все статьи →
Связаться с нами