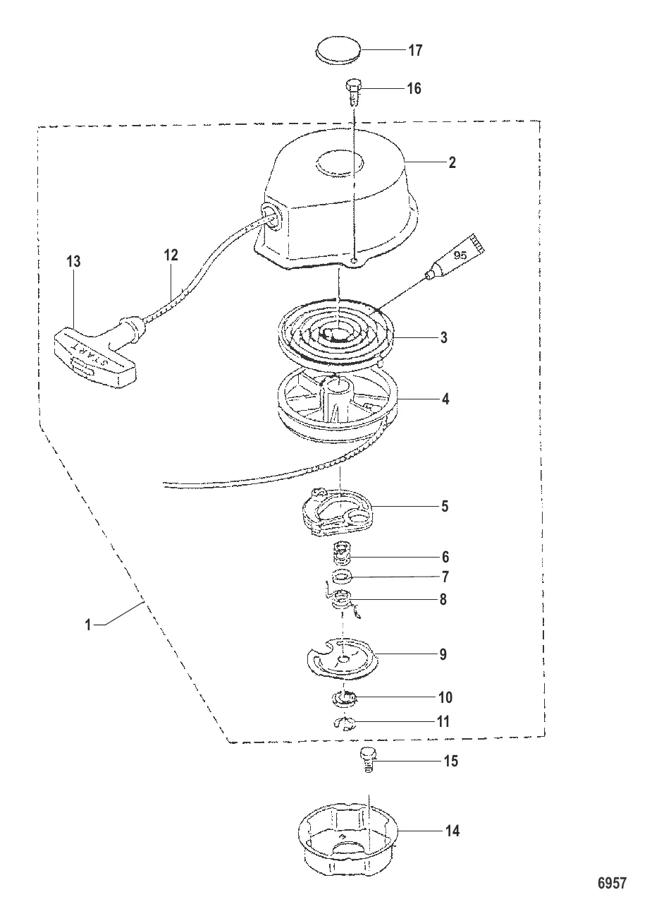
Ручной стартер
14 307 ₽
4 813 ₽
2 218 ₽
Уточняйте
1 047 ₽
419 ₽
291 ₽
476 ₽
491 ₽
656 ₽
280 ₽
1 069 ₽
1 249 ₽
Уточняйте
152 ₽
152 ₽
Уточняйте
14 307 ₽
4 813 ₽
2 218 ₽
Уточняйте
1 047 ₽
419 ₽
291 ₽
476 ₽
491 ₽
656 ₽
280 ₽
1 069 ₽
1 249 ₽
Уточняйте
152 ₽
152 ₽
Уточняйте
Оставьте номер — наш эксперт перезвонит и подберёт нужные запчасти
Нажимая кнопку, вы соглашаетесь на обработку персональных данных
Наш эксперт свяжется с вами в ближайшее время
Скидка будет применена к вашему заказу