RIGGING STEERING (602S, 2009) 999
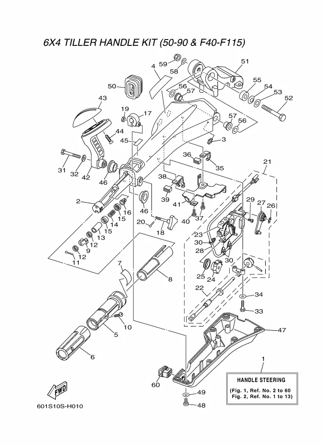
Основная рукоятка
Основная электрическая рукоятка
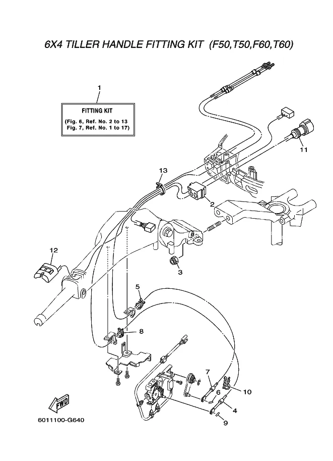
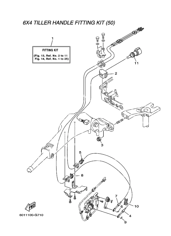
Монтажный комплект 1
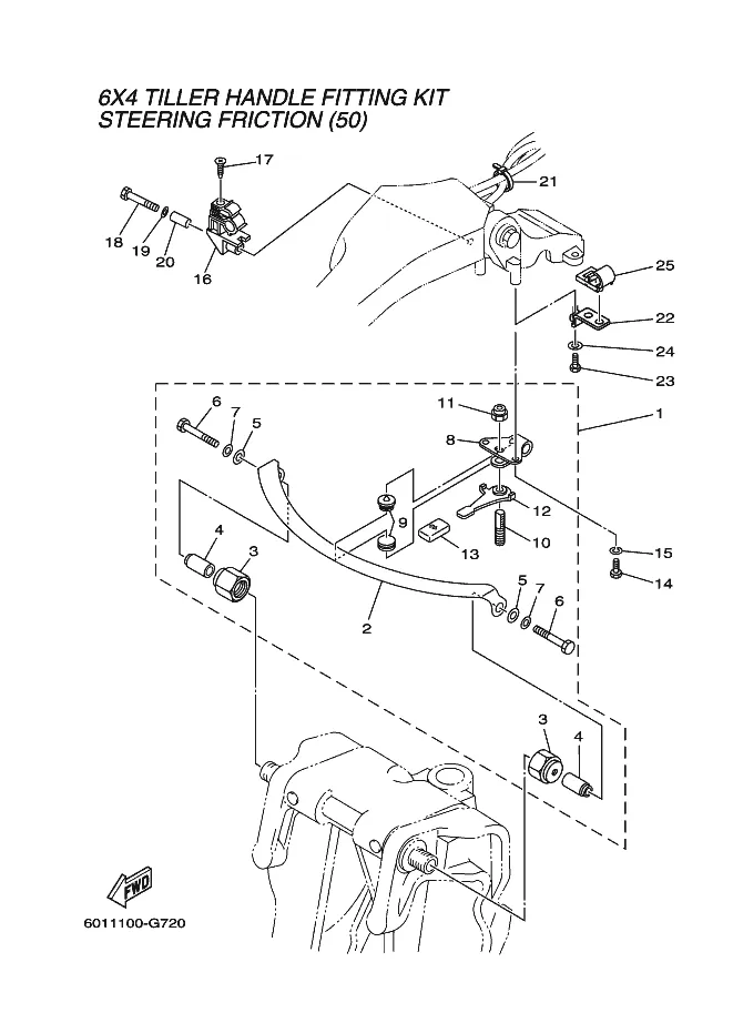
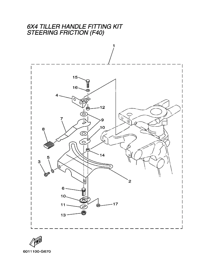
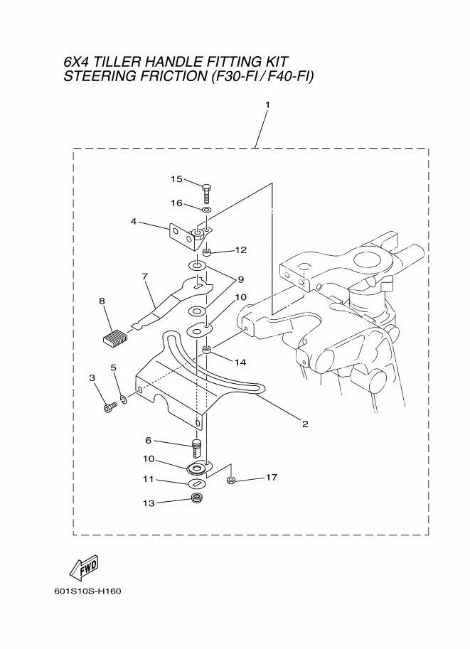
Фрикцион рулевого управления 1
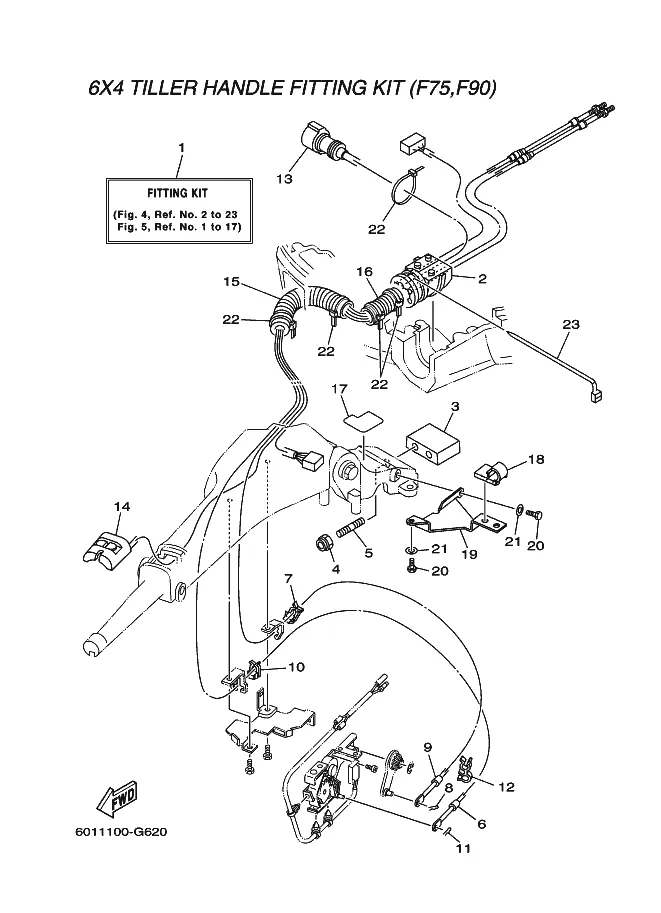
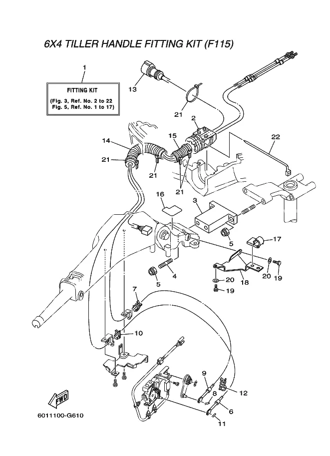
Монтажный комплект 2
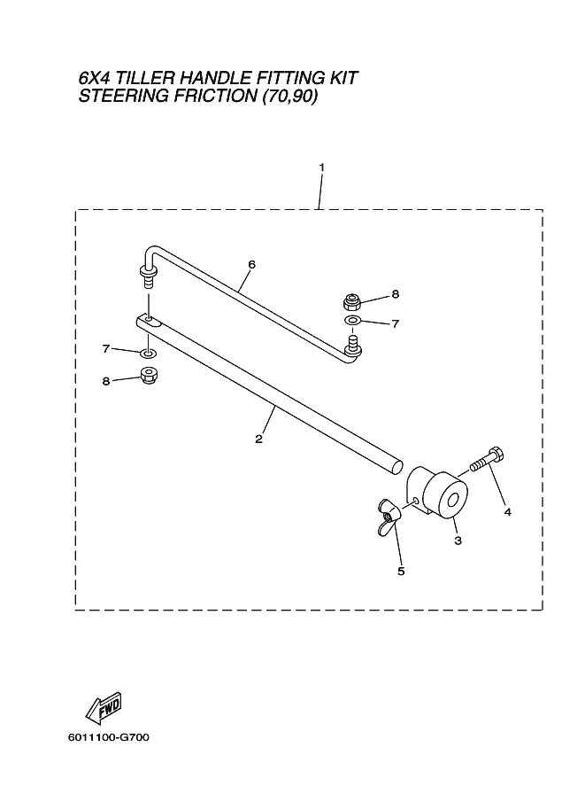
Фрикцион рулевого управления 2
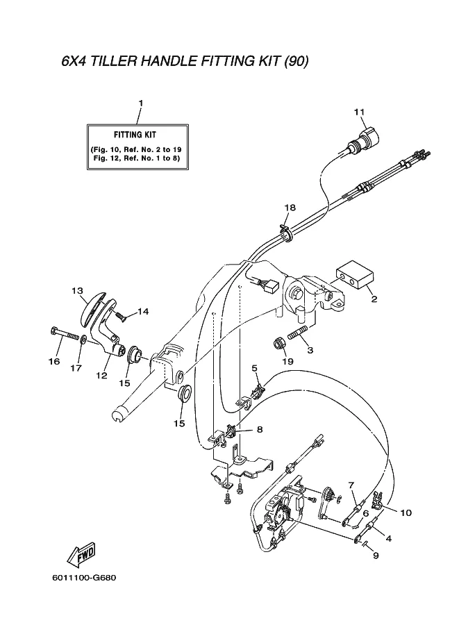
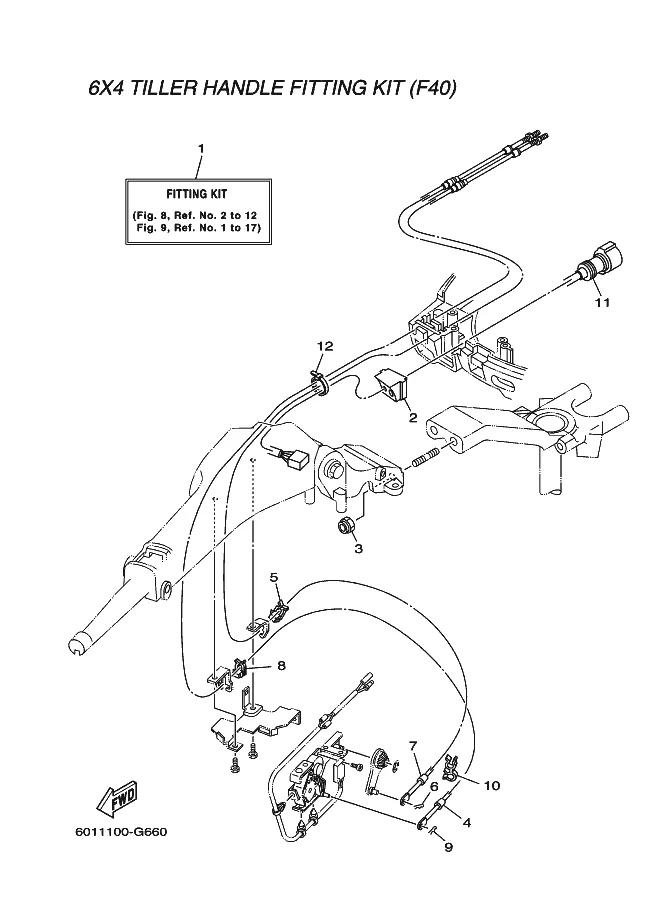
Монтажный комплект 3
Фрикцион рулевого управления 3
Монтажный комплект 4
Фрикциону рулевого правления 4
Монтажный комплект 5
Фрикцион рулевого управления 5
Монтажный комплект 6
Фрикцион рулевого управления 6
Монтажный комплект 7
Фрикцион рулевого управления 7
Монтажный комплект 8
Фрикцион рулевого управления 8
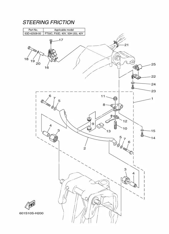
Фрикцион рулевого управления 9
Фрикцион рулевого управления 10
Фрикцион рулевого управления 11
Фрикцион рулевого управления 12
Фрикцион рулевого управления 13
Товаров не найдено, но мы можем привезти под заказ
Оставьте контакты — мы свяжемся с вами
✅ Спасибо!