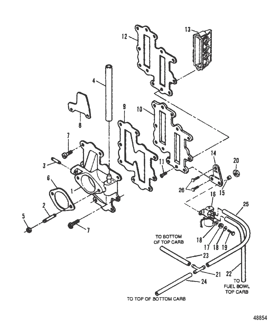
Пластина пластинчатого клапана и заливочный насос
Уточняйте
Уточняйте
356 ₽
Уточняйте
1 610 ₽
218 ₽
266 ₽
258 ₽
Уточняйте
599 ₽
2 075 ₽
Уточняйте
471 ₽
22 779 ₽
Уточняйте
Уточняйте
30 410 ₽
822 ₽
251 ₽
Уточняйте
Уточняйте
4 690 ₽
346 ₽
Уточняйте
Уточняйте
356 ₽
Уточняйте
1 610 ₽
218 ₽
266 ₽
258 ₽
Уточняйте
599 ₽
2 075 ₽
Уточняйте
471 ₽
22 779 ₽
Уточняйте
Уточняйте
30 410 ₽
822 ₽
251 ₽
Уточняйте
Уточняйте
4 690 ₽
346 ₽
Оставьте номер — наш эксперт перезвонит и подберёт нужные запчасти
Нажимая кнопку, вы соглашаетесь на обработку персональных данных
Наш эксперт свяжется с вами в ближайшее время
Скидка будет применена к вашему заказу