Паросепаратор — [1C043417 THRU 1C456299] — купить в Victory Marine
Паросепаратор
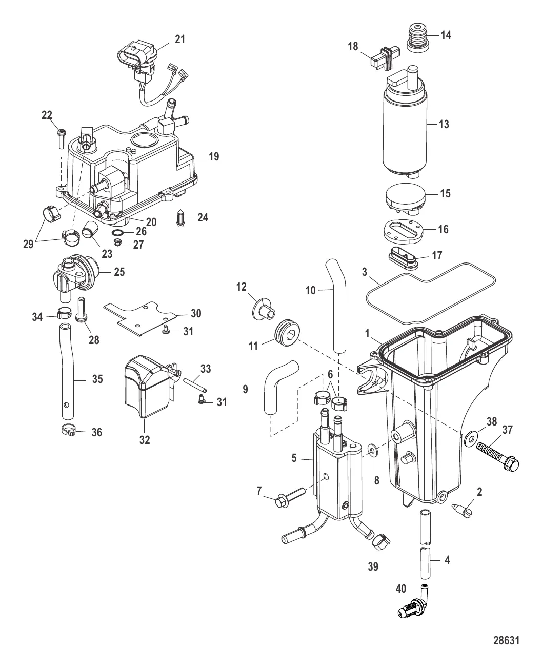
1
2
3
4
5
8
9
10
11
12
13
14
15
16
17
18
19
20
21
22
23
25
26
27
28
30
31
32
33
34
35
36
37
39
40

Паросепаратор

51 508 ₽

2 280 ₽

1 959 ₽

4 . РУКАВ Mercury 8M0054213

85583466 → 8M0054213

8 893 ₽

122 182 ₽

505 ₽

13 171 ₽

13 691 ₽

339 ₽

734 ₽

46 000 ₽

6 109 ₽

5 115 ₽

3 319 ₽

3 893 ₽

1 900 ₽

85 867 ₽

Уточняйте

14 901 ₽

770 ₽

360 ₽

3 330 ₽

35 839 ₽

991 ₽

1 071 ₽

863 ₽

1 168 ₽

512 ₽

5 224 ₽

422 ₽

1 443 ₽

2 415 ₽

28 ₽

407 ₽

46 ₽

715 ₽

535 ₽

Полезные статьи

Все статьи →
Связаться с нами