Oil Cooler (Serial # 0D725500 Thru 0D937011) — 1987-1989 [0A398941 THRU 0B622418] - USA - Cat.# 90-16286 — купить в Victory Marine
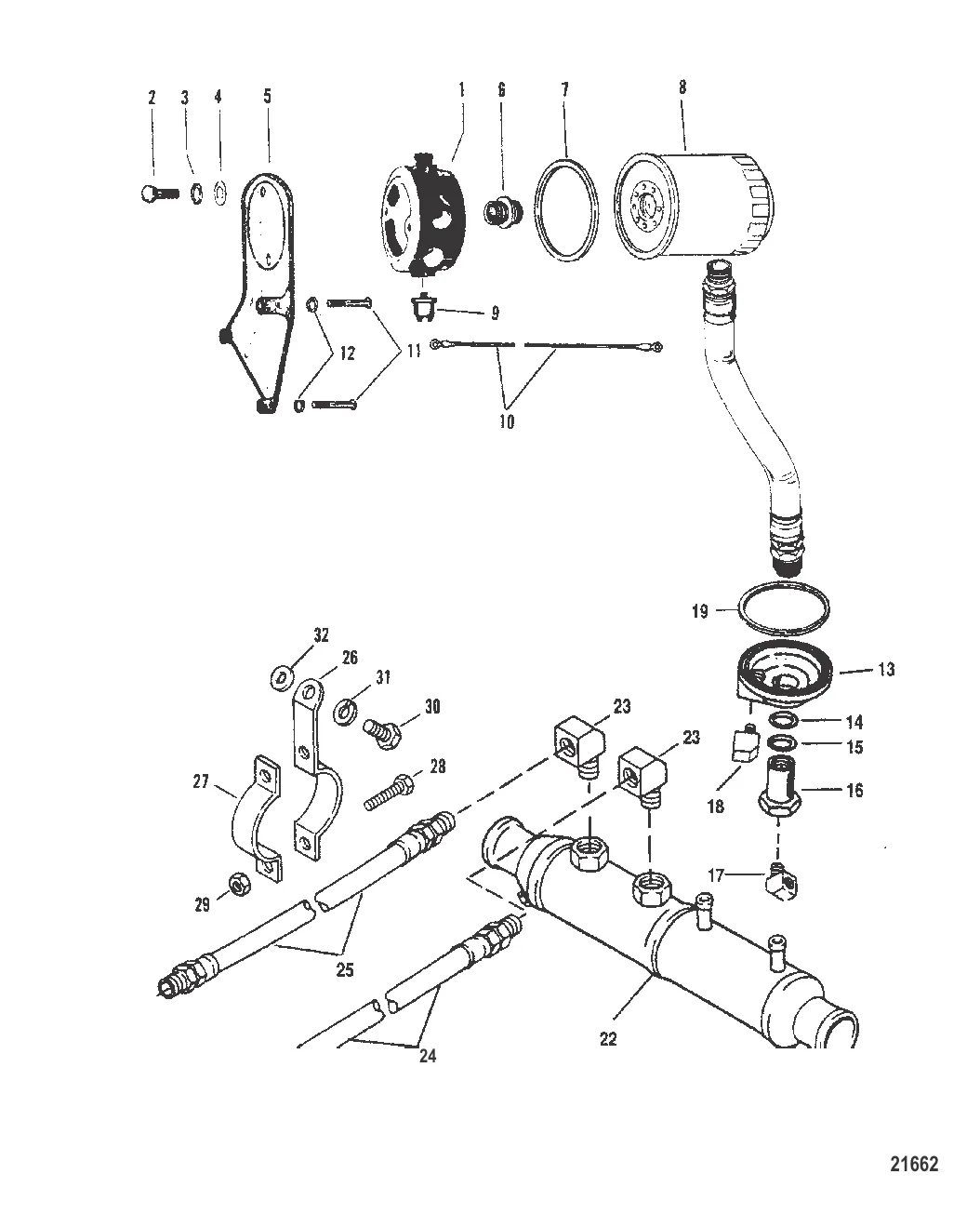
Oil Cooler (Serial # 0D725500 Thru 0D937011)
24

Oil Cooler (Serial # 0D725500 Thru 0D937011)

14 024 ₽

Полезные статьи

Все статьи →
Сравнения и обзоры

Электрический лодочный мотор как основной двигатель — когда это имеет смысл

Не путаем с троллинговыми моторчиками — речь про полноценные электрические двигатели для лодок. Torqeedo, ePropulsion и другие: мощность, батареи, запас хода, стоимость владения.

1 мин.
Гайды и подбор

Что проверяет ГИМС при остановке на воде — памятка судоводителю

Остановка инспектором ГИМС — стандартная процедура, а не повод для паники. Разбираем, что имеет право проверять инспектор, какие документы и снаряжение должны быть на борту и какие штрафы грозят за нарушения.

1 мин.
Гайды и подбор

Нерестовый запрет 2026 — сроки, правила и штрафы по регионам России

Сроки нерестового запрета 2026 по основным регионам России. Что можно, что нельзя, какие штрафы, как проверить запрет в своём регионе — без юридической воды, по делу.

1 мин.
Связаться с нами