Нижний блок в сборе (72# – переменная) (MUC397022) — [9B000001 & Up] — купить в Victory Marine
Нижний блок в сборе (72# – переменная) (MUC397022)
5
6
13
22
24
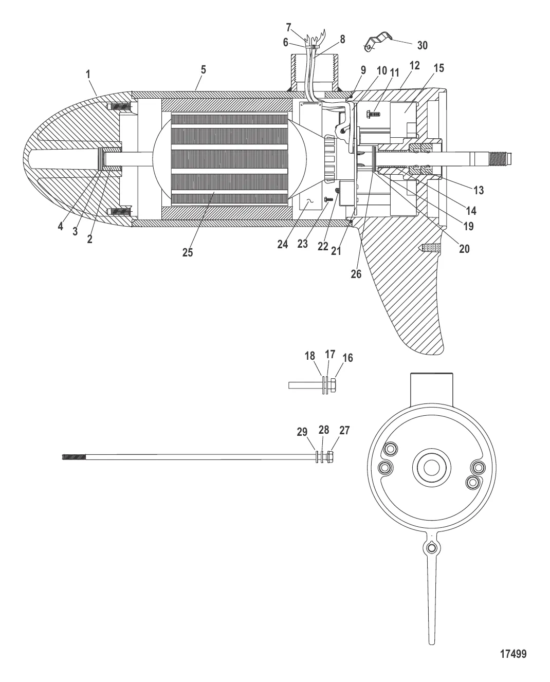
25
26
27

Нижний блок в сборе (72# – переменная) (MUC397022)

2 430 ₽

3 101 ₽

318 ₽

191 ₽

14 116 ₽

353 ₽

3 236 ₽

3 086 ₽

10 837 ₽

909 ₽

1 177 ₽

41 604 ₽

616 ₽

323 ₽

459 ₽

18 156 ₽

61 ₽

1 187 ₽

365 ₽

25 . ЯКОРЬ Mercury M899401T

MUF320712 → M899401T

10 360 ₽

334 ₽

583 ₽

342 ₽

173 ₽

Полезные статьи

Все статьи →
Связаться с нами