НАСОС ДЛЯ ЗАБОРТНОЙ ВОДЫ (КОНСТРУКЦИЯ II) — 7.4L MIE (LH) GEN. VI GM 454 V-8 — купить в Victory Marine
НАСОС ДЛЯ ЗАБОРТНОЙ ВОДЫ (КОНСТРУКЦИЯ II)
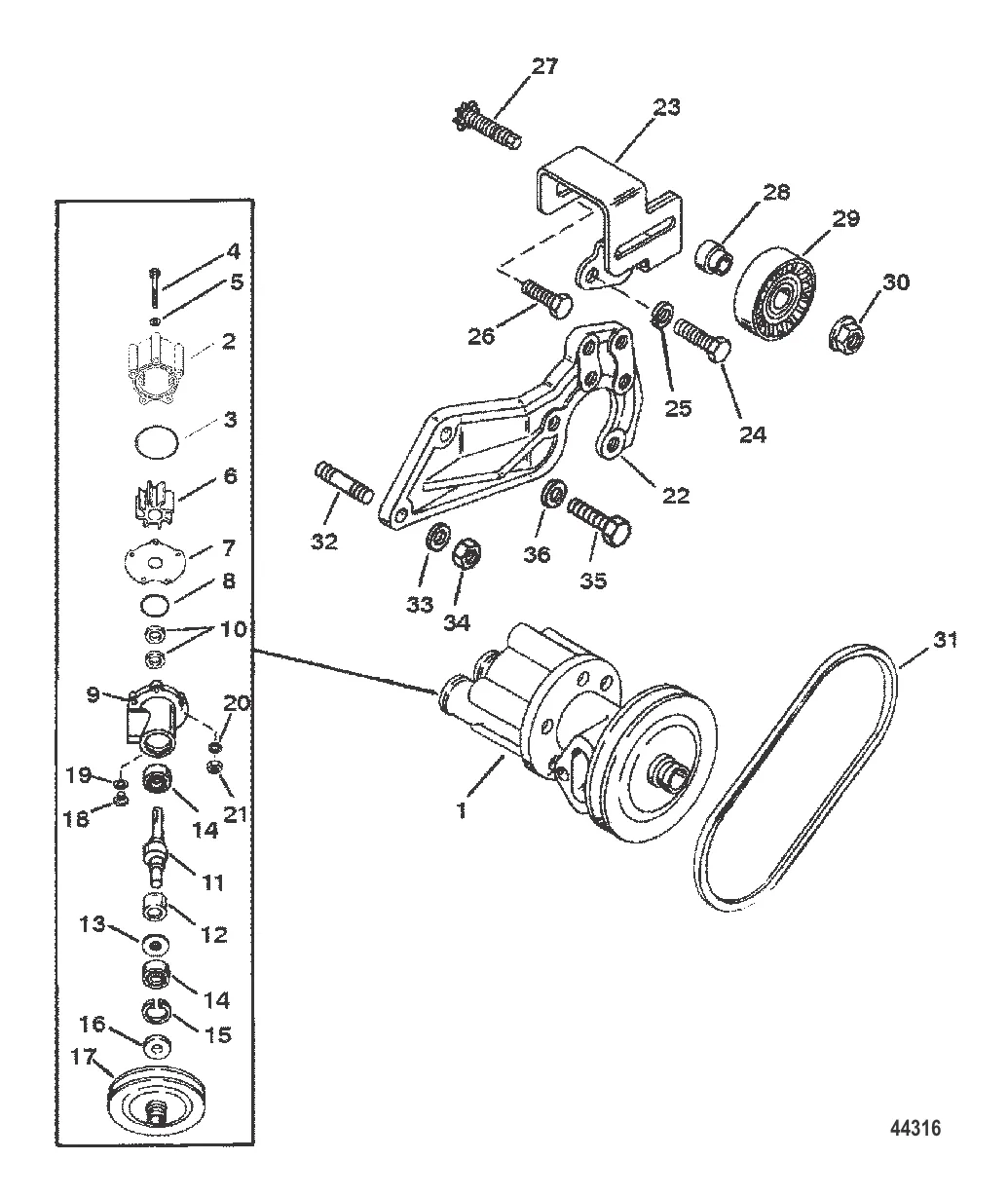
1
3
4
5
6
7
8
9
11
12
13
15
16
17
20
22
23
24
25
26
27
30
32
34
35
36

НАСОС ДЛЯ ЗАБОРТНОЙ ВОДЫ (КОНСТРУКЦИЯ II)

176 372 ₽

17 300 ₽

3 . Кольцо 33465

807149 → 33465

Уточняйте

171 ₽

792 ₽

7 035 ₽

2 869 ₽

322 ₽

111 135 ₽

2 900 ₽

40 627 ₽

6 727 ₽

845 ₽

3 000 ₽

303 ₽

2 300 ₽

17 626 ₽

18 . 79953q04 Болт сливной с Прокладкой без магнита

79953Q2 → 79953A2 → 79953 → 28634 → 20259 → 79953Q04

900 ₽

250 ₽

216 ₽

300 ₽

88 578 ₽

12 987 ₽

152 ₽

25 . Шайба 35048

37459 → 27969 → 35048

171 ₽

73 ₽

3 425 ₽

740 ₽

4 900 ₽

30 . Гайка 859135

817618 → 859135

682 ₽

4 500 ₽

1 007 ₽

313 ₽

259 ₽

171 ₽

Полезные статьи

Все статьи →
Связаться с нами