Корпус ведущего вала — [1C050252 THRU 1C453839] - USA — купить в Victory Marine
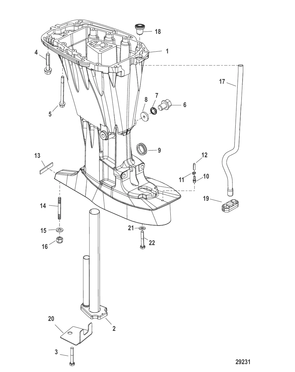
Корпус ведущего вала
1
2
3
4
6
8
9
10
11
12
13
14
16
19
22

Корпус ведущего вала

130 295 ₽

93 825 ₽

15 044 ₽

Уточняйте

781 ₽

552 ₽

1 829 ₽

2 995 ₽

700 ₽

2 574 ₽

9 . GROMMET 8M0151042

8M4504002 → 8M0151042

1 934 ₽

1 035 ₽

45 ₽

383 ₽

13 . УПОР Mercury 8M0043364

828706 → 8M0043364

299 ₽

5 090 ₽

1 796 ₽

317 ₽

13 740 ₽

10 726 ₽

1 163 ₽

3 284 ₽

997 ₽

153 ₽

617 ₽

Полезные статьи

Все статьи →
Связаться с нами