КОРПУС ТЕРМОСТАТА (СТАНДАРТНАЯ СИСТЕМА ОХЛАЖДЕНИЯ) С/Н: 0F305000 И ВЫШЕ — 1992-1994 [0D805069 THRU 0F304999] — купить в Victory Marine
КОРПУС ТЕРМОСТАТА (СТАНДАРТНАЯ СИСТЕМА ОХЛАЖДЕНИЯ) С/Н: 0F305000 И ВЫШЕ
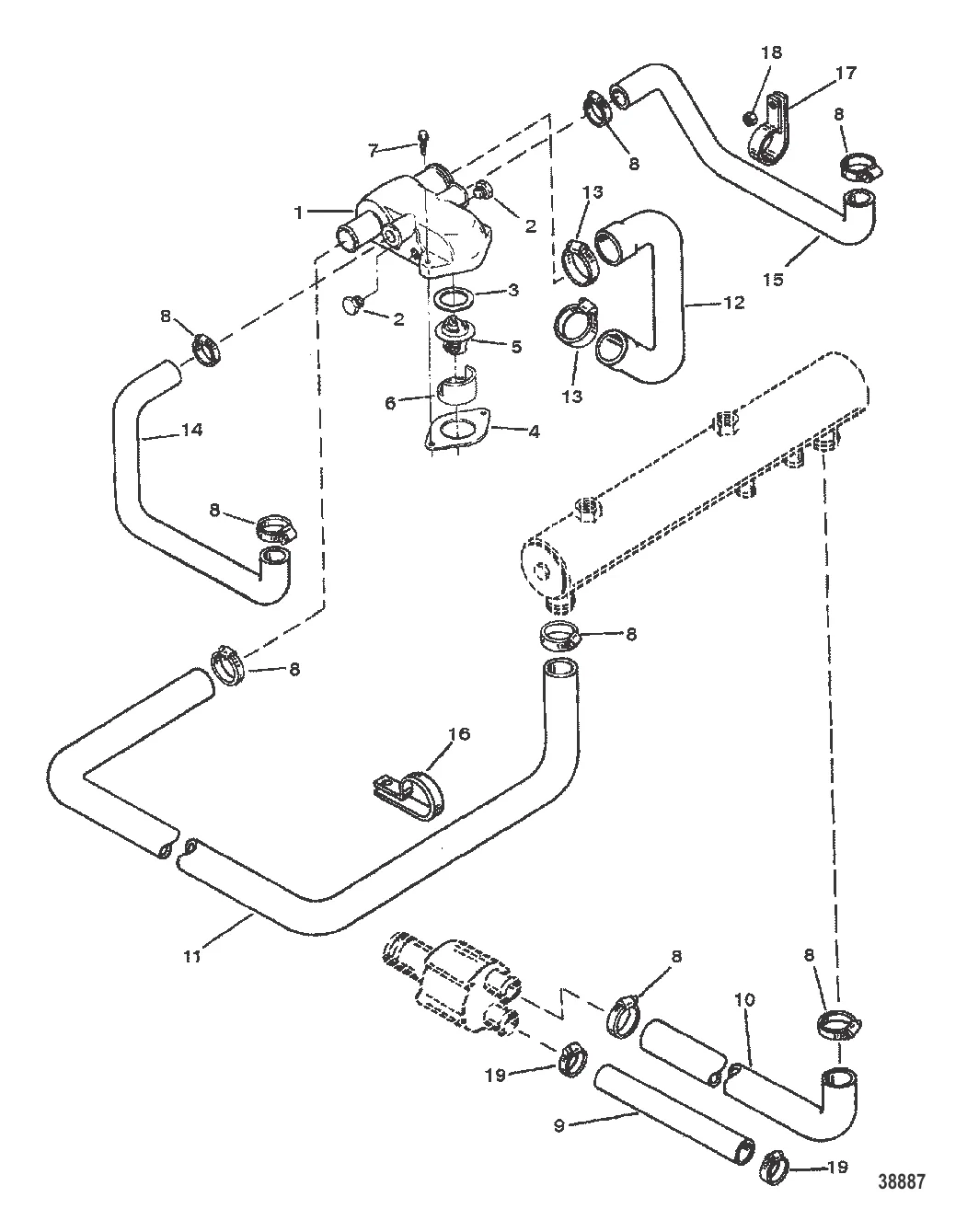
2
7
10
11
12
14
15
16
17
18

КОРПУС ТЕРМОСТАТА (СТАНДАРТНАЯ СИСТЕМА ОХЛАЖДЕНИЯ) С/Н: 0F305000 И ВЫШЕ

Уточняйте

Уточняйте

600 ₽

5 . 8M0109441 Термостат Mercruiser 3.0-8.1 ( QUICKSILVER )

8M0091470 → 807252T2 → 8072522 → 8052732 → 8M0109441

5 800 ₽

1 900 ₽

678 ₽

989 ₽

33 459 ₽

8 560 ₽

7 785 ₽

7 964 ₽

4 104 ₽

12 . РУКАВ Mercury 897181

89718 → 16010 → 897181

9 150 ₽

12 . РУКАВ Mercury 897183

897182 → 897183

10 502 ₽

1 109 ₽

4 091 ₽

8 642 ₽

Уточняйте

792 ₽

313 ₽

792 ₽

Полезные статьи

Все статьи →
Гайды и подбор

Как правильно перевозить лодочный мотор в машине — 2Т и 4Т

Правила транспортировки двухтактных и четырёхтактных лодочных моторов в автомобиле. Почему положение при перевозке критически важно, как подготовить топливную систему и чем грозят ошибки — разбираем на примерах Mercury.

1 мин.
Гайды и подбор

Как правильно спустить лодку на воду — с берега, прицепа и слипа

Пошаговая инструкция по спуску лодки: с необорудованного берега, с прицепа и со слипа. Разбираем типичные ошибки — от забытой пробки до оторванного страховочного троса.

1 мин.
Гайды и подбор

Какое масло заливать в четырёхтактный лодочный мотор — марки и вязкость

Всё о моторном масле для четырёхтактных лодочных моторов: вязкость 10W-30 и 10W-40, сертификация FC-W, лучшие марки — Quicksilver, Yamalube, Motul. Интервалы замены и типичные ошибки.

1 мин.
Связаться с нами