Компоненты верхней передачи — [0T980000 THRU 1B226999] - USA — купить в Victory Marine
Компоненты верхней передачи
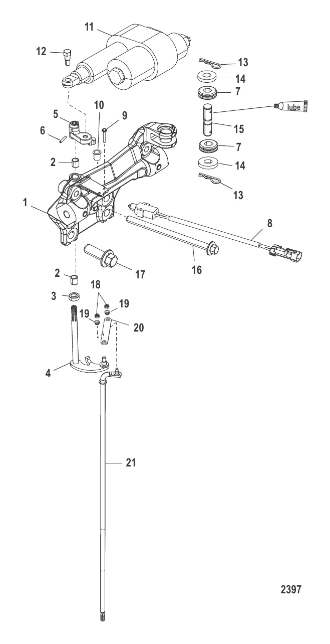
1
2
3
4
5
6
7
8
9
10
11
12
13
14
15
16
17
18
19
20

Компоненты верхней передачи

Уточняйте

739 ₽

183 ₽

6 787 ₽

6 422 ₽

647 ₽

583 ₽

5 010 ₽

208 ₽

417 ₽

350 164 ₽

1 775 ₽

257 ₽

678 ₽

2 684 ₽

1 032 ₽

17 . винт Mercury 8M0103802

88510940 → 8M0103802

1 430 ₽

442 ₽

421 ₽

826 ₽

Полезные статьи

Все статьи →
Гайды и подбор

Картплоттер и GPS-навигатор для лодки — как выбрать и не переплатить

Чем картплоттер отличается от GPS-навигатора, какой размер экрана нужен, что выбрать из Lowrance, Garmin и Humminbird. Разбираемся в картах, функциях и ценах без маркетинговой воды.

1 мин.
Обслуживание и ремонт

Ремонт редуктора лодочного мотора Mercury своими руками

Подробная инструкция по ремонту редуктора (lower unit) лодочного мотора Mercury: диагностика, снятие, замена сальников, шестерён и подшипников, сборка. Конкретные артикулы запчастей и сравнение стоимости самостоятельного ремонта с сервисом.

1 мин.
Гайды и подбор

Как правильно спустить лодку на воду — с берега, прицепа и слипа

Пошаговая инструкция по спуску лодки: с необорудованного берега, с прицепа и со слипа. Разбираем типичные ошибки — от забытой пробки до оторванного страховочного троса.

1 мин.
Связаться с нами