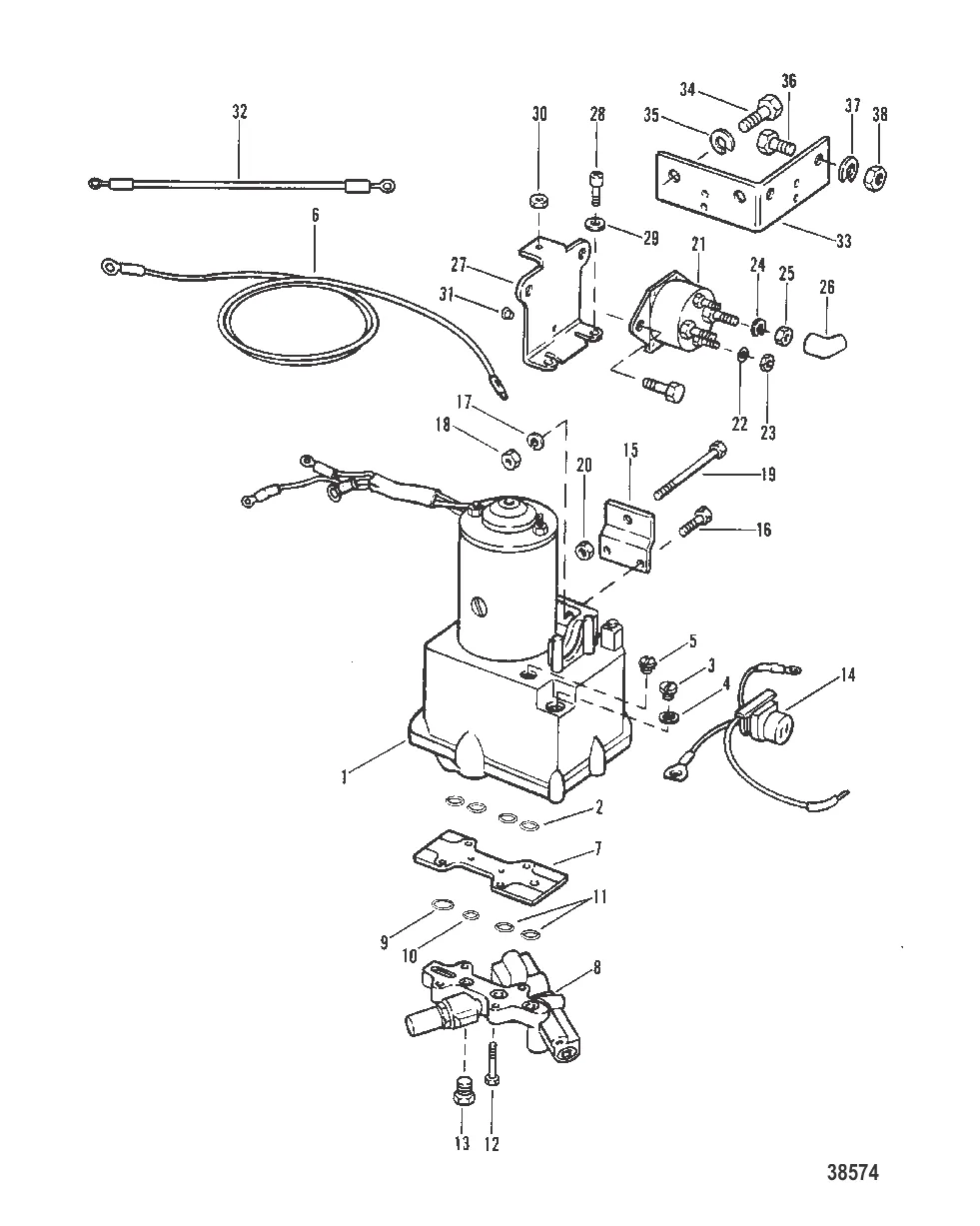
КОМПОНЕНТЫ УСИЛИТЕЛЯ ДИФФЕРЕНТА (БЕЗ ПРЕРЫВАТЕЛЯ И ПРЕДОХРАНИТЕЛЯ) — [8063985 & Up] - Belgium - Cat.# 90-13287 — купить в Victory Marine
КОМПОНЕНТЫ УСИЛИТЕЛЯ ДИФФЕРЕНТА (БЕЗ ПРЕРЫВАТЕЛЯ И ПРЕДОХРАНИТЕЛЯ)
1
5
6
7
9
10
11
12
13
14
15
16
17
19
20
21
22
23
24
25
26
27
28
30
31
33
36
38

КОМПОНЕНТЫ УСИЛИТЕЛЯ ДИФФЕРЕНТА (БЕЗ ПРЕРЫВАТЕЛЯ И ПРЕДОХРАНИТЕЛЯ)

1 . насос KIT-TRIM Mercury 92975A32

92975A28 → 67914A2 → 92975A32

207 069 ₽

3 . 79953Q04 Болт сливной с Прокладкой без магнита (QUICKSILVER)

79953Q2 → 79953A2 → 79953 → 28634 → 20259 → 79953Q04

900 ₽

250 ₽

Уточняйте

Уточняйте

Уточняйте

Уточняйте

Уточняйте

226 ₽

Уточняйте

171 ₽

315 ₽

737 ₽

4 827 ₽

Уточняйте

116 ₽

216 ₽

300 ₽

Уточняйте

356 ₽

6 977 ₽

22 . Шайба 26996

20040 → 26996

140 ₽

23 . Гайка 68219

20645 → 33252 → 68219

72 ₽

134 ₽

25 . ГАЙКА (0.312-18) Mercury 68292

F1349 → F1330 → 68292

197 ₽

599 ₽

Уточняйте

Уточняйте

Уточняйте

511 ₽

704 ₽

Уточняйте

Уточняйте

269 ₽

140 ₽

109 ₽

224 ₽

Полезные статьи

Все статьи →
Связаться с нами