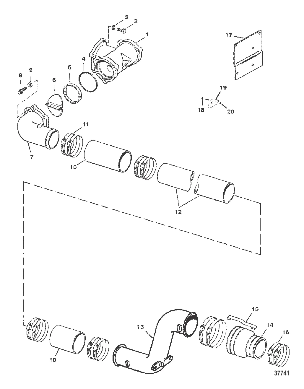
КОМПОНЕНТЫ УДЛИНИТЕЛЯ ВЕДУЩЕГО ВАЛА (МОДЕЛИ С ПРОМЕЖУТОЧНЫМ ВАЛОМ) — 1988-1995 [0B774445 THRU 0F600999] - Cat.# 90-816596 — купить в Victory Marine
КОМПОНЕНТЫ УДЛИНИТЕЛЯ ВЕДУЩЕГО ВАЛА (МОДЕЛИ С ПРОМЕЖУТОЧНЫМ ВАЛОМ)
1
2
3
5
6
8
9
10
12
14
15
16
17
18
19
20

КОМПОНЕНТЫ УДЛИНИТЕЛЯ ВЕДУЩЕГО ВАЛА (МОДЕЛИ С ПРОМЕЖУТОЧНЫМ ВАЛОМ)

Уточняйте

248 ₽

3 . Шайба 35048

37459 → 27969 → 35048

171 ₽

317 ₽

3 382 ₽

Уточняйте

25 197 ₽

8 . винт @5 Mercury 8M0113174

58640 → 8M0113174

1 053 ₽

258 ₽

10 . РУКАВ Mercury 486594

486591 → 486594

6 480 ₽

297 ₽

Уточняйте

Уточняйте

118 328 ₽

11 211 ₽

9 365 ₽

Уточняйте

16 . Хомут 815504372

31765 → 815504372

1 821 ₽

7 800 ₽

152 ₽

19 . ГАЙКА (№10-32) Mercury 46438

20565 → 37806 → 20652 → 46438

684 ₽

323 ₽

Полезные статьи

Все статьи →
Гайды и подбор

Отводной поводок, дроп-шот и каролина — разнесённые оснастки

Разнесённые оснастки — секретное оружие спиннингиста, когда рыба капризничает. Подробно разбираем отводной поводок, дроп-шот и каролинскую оснастку: монтажи, техника, ошибки.

1 мин.
Гайды и подбор

Первый катер — как выбрать моторную лодку новичку: 10 критериев

Покупка первого катера — серьёзный шаг с десятком подводных камней. Разбираем 10 ключевых критериев выбора моторной лодки для новичка: от назначения и размера до бюджета и документов.

1 мин.
Гайды и подбор

Солнечная батарея для лодки — зарядка аккумулятора на воде без берега

Разбираемся, какую солнечную панель поставить на лодку, чтобы аккумулятор не сдох посреди водохранилища. Гибкие, жёсткие, складные — считаем ватты, выбираем контроллер и собираем автономную систему.

1 мин.
Связаться с нами