Компоненты комплекта рукоятки рулевого механизма 816366A52 — [1B366823 THRU 2B094995] - USA — купить в Victory Marine
Компоненты комплекта рукоятки рулевого механизма 816366A52
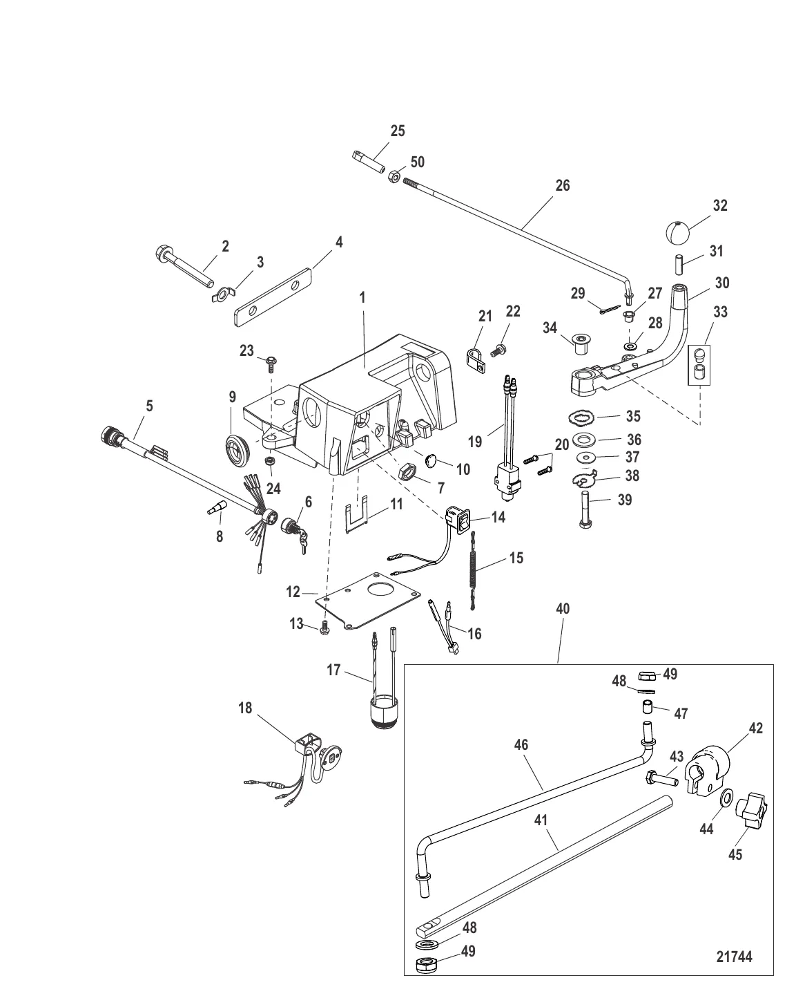
1
2
3
4
6
8
10
11
12
14
15
16
17
19
20
21
22
23
26
27
29
30
31
32
34
35
36
37
38
39
40
41
42
43
44
45
46
47
48

Компоненты комплекта рукоятки рулевого механизма 816366A52

51 563 ₽

753 ₽

972 ₽

1 182 ₽

61 146 ₽

7 721 ₽

803 ₽

434 ₽

2 765 ₽

1 121 ₽

719 ₽

3 114 ₽

9 026 ₽

15 . LANYARD ASSEMBLY 15920Q54

15920A54 → 86352 → 15920Q54

1 262 ₽

Уточняйте

670 ₽

14 299 ₽

37 593 ₽

8 965 ₽

259 ₽

394 ₽

226 ₽

2 549 ₽

24 . ГАЙКА (0.375-24), латунь Mercury 8M0042636

826709113 → 34863 → 20509 → 8M0042636

Уточняйте

1 562 ₽

19 312 ₽

547 ₽

226 ₽

451 ₽

39 207 ₽

1 537 ₽

1 495 ₽

1 090 ₽

3 837 ₽

1 098 ₽

398 ₽

647 ₽

1 335 ₽

545 ₽

30 932 ₽

15 974 ₽

1 733 ₽

300 ₽

140 ₽

1 213 ₽

19 984 ₽

792 ₽

260 ₽

436 ₽

49 . ГАЙКА (0.250-20) Mercury 64015

F1341 → F15051 → 64015

266 ₽

Полезные статьи

Все статьи →
Связаться с нами