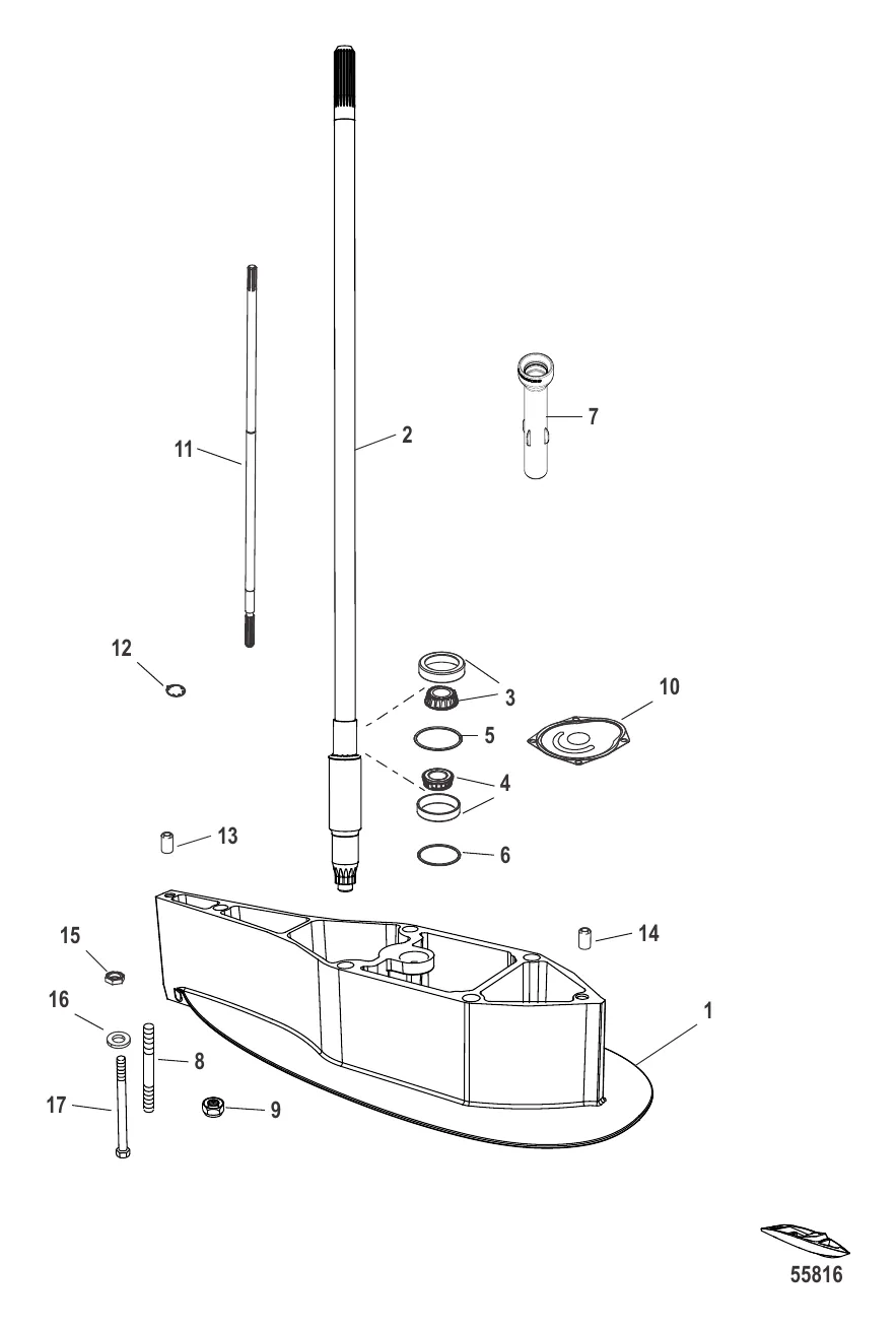
Комплект удлинителя ведущего вала Стандартный 2.07:1 — [2B225488 & Up] - USA — купить в Victory Marine
Комплект удлинителя ведущего вала Стандартный 2.07:1
2
3
5
6
7
8
9
10
12
14
15
17

Комплект удлинителя ведущего вала Стандартный 2.07:1

1 . ПРОСТАВКА Корпус ведущего вала XL Mercury 8M0105088

8M0071622 → 880647T04 → 823979T1 → 823979F1 → 8M0105088

57 410 ₽

110 493 ₽

9 000 ₽

7 300 ₽

3 986 ₽

4 422 ₽

741 ₽

6 053 ₽

300 ₽

2 524 ₽

12 265 ₽

Уточняйте

306 ₽

382 ₽

867 ₽

310 ₽

2 357 ₽

Полезные статьи

Все статьи →
Связаться с нами