Комплект рулевого механизма – сдвоенный (97933A4 и 97933A5) — Стержень тяги/комплекты крепления — купить в Victory Marine
Комплект рулевого механизма – сдвоенный (97933A4 и 97933A5)
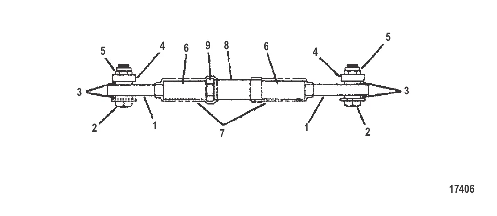
1
2
4
6
7
8
9

Комплект рулевого механизма – сдвоенный (97933A4 и 97933A5)

Уточняйте

16 344 ₽

523 ₽

4 672 ₽

1 256 ₽

913 ₽

Уточняйте

5 . ГАЙКА (0.375-24), латунь Mercury 8M0042636

826709113 → 34863 → 20509 → 8M0042636

Уточняйте

521 ₽

943 ₽

Уточняйте

8 . муфта Mercury 8149512

979321 → 8149512

34 984 ₽

1 256 ₽

Полезные статьи

Все статьи →
Связаться с нами