Популярные города
Товаров не найдено, но мы можем привезти под заказ
Нет аккаунта?
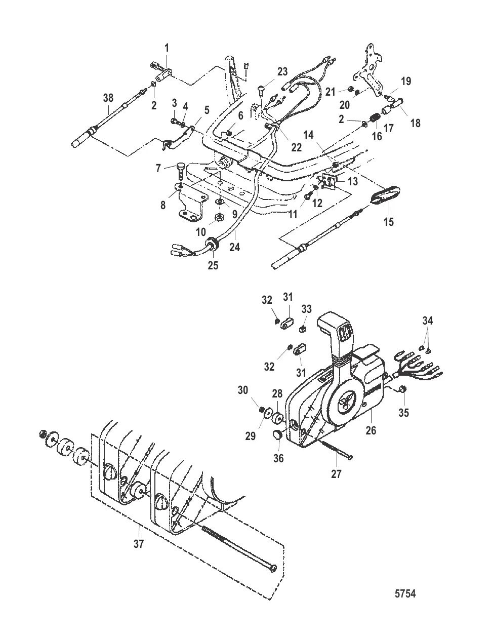
КОМПЛЕКТ ПЕРЕКЛЮЧАТЕЛЯ СОЕДИНЕНИЯ Mercury 853804
853804
ШАЙБА Mercury 17029
17029
БОЛТ Mercury 16705
16705
ФИКСАТОР Трос реверса Mercury 8538021
8538021
БОЛТ Mercury 8230428
8230428
ПЛАСТИНА Крюк рулевого механизма Mercury 8538022
8538022
ШАЙБА Mercury 16192
879194339 → 895106001 → 16192
ГАЙКА (M8), нержавеющая сталь Mercury 400213
17172 → 400213
КОМПЛЕКТ ВИНТОВ/ШАЙБ Mercury 898103A79
879194010 → 8150681 → 898103A79
СТОПОРНАЯ ШАЙБА Mercury 16079
16079
ФИКСАТОР Трос газа Mercury 853802
853802
ГАЙКА Нержавеющая сталь Mercury 16081
8537225 → 16081
УПЛОТНИТЕЛЬНОЕ КОЛЬЦО Mercury 853803
853803
ПРУЖИНА Mercury 17028
17028
ПРОБКА Mercury 17027
17027
КРОНШТЕЙН Mercury 17026
17026
ШАРОВОЕ СОЕДИНЕНИЕ Mercury 853801
853801
Шайба 400256
16819 → 95303 → 400256
ЗАЖИМ Mercury 17169
17169
ВИНТ Mercury 16827
95384 → 16827
КАБЕЛЬ В СБОРЕ Mercury 853799A1
853799A1
УПЛОТНИТЕЛЬНОЕ КОЛЬЦО Mercury 162262
162262
ДИСТАНЦИОННОЕ УПРАВЛЕНИЕ Электрический пуск – без усилителя дифферента Mercury 881170A9
16907A1 → 881170A9
ВИНТ Mercury 853989
853989
ПРОСТАВКА Mercury 853990
853990
ШАЙБА Mercury 853991
853991
ГАЙКА (M6), нержавеющая сталь Mercury 400212
16825 → 400212
ОТВЕРСТИЕ НАКОНЕЧНИКА Mercury 8539921
8539921
Е-ОБРАЗНОЕ КОЛЬЦО Mercury 160572
160572
УПЛОТНИТЕЛЬНОЕ КОЛЬЦО Mercury 853993
853993
ПРОБКА Mercury 853994
853994001 → 853994
УПЛОТНИТЕЛЬНОЕ КОЛЬЦО Mercury 853995
853995
УПЛОТНИТЕЛЬНОЕ КОЛЬЦО Mercury 8539951
8539951
МОНТАЖНЫЙ КОМПЛЕКТ Сдвоенное дистанционное управление Mercury 853997A1
853997A1
НЕ ПРОДАЕТСЯ ОТДЕЛЬНО Mercury NSS
NSS
2 717 ₽
208 ₽
187 ₽
4 363 ₽
356 ₽
3 608 ₽
167 ₽
269 ₽
258 ₽
113 ₽
3 203 ₽
171 ₽
1 869 ₽
157 ₽
1 367 ₽
1 895 ₽
1 168 ₽
225 ₽
185 ₽
10 795 ₽
853799A2
10 232 ₽
491 ₽
42 409 ₽
484 ₽
505 ₽
229 ₽
257 ₽
948 ₽
186 ₽
205 ₽
230 ₽
Уточняйте
6 493 ₽
Подробная инструкция по установке эхолота Lowrance на ПВХ-лодку и катер. Где крепить датчик на транце, как подключить питание, типы датчиков HDI, TotalScan, Active Imaging и типичные ошибки монтажа.
Вибрация лодочного мотора может быть вызвана десятком причин — от повреждённого винта до износа подвески. Разбираем каждую причину, объясняем, как диагностировать, и рассказываем, что можно исправить самому, а с чем ехать в сервис.
Какие свечи NGK ставить на Mercury и Tohatsu, как менять, момент затяжки и зазор. Диагностика состояния мотора по цвету нагара — от нормы до серьёзных проблем.
Контакты
+7 800 555-65-49
Бесплатно по России — нажмите, чтобы позвонить
Написать нам
Перезвоните мне
Оставьте номер — наш эксперт перезвонит и подберёт нужные запчасти
Нажимая кнопку, вы соглашаетесь на обработку персональных данных
Наш эксперт свяжется с вами в ближайшее время
Скидка будет применена к вашему заказу