КОЛЕНЧАТЫЙ ВАЛ, ПОРШНИ И ШАТУНЫ — [0C159200 & Up] - USA - Cat.# 90-814698 — купить в Victory Marine
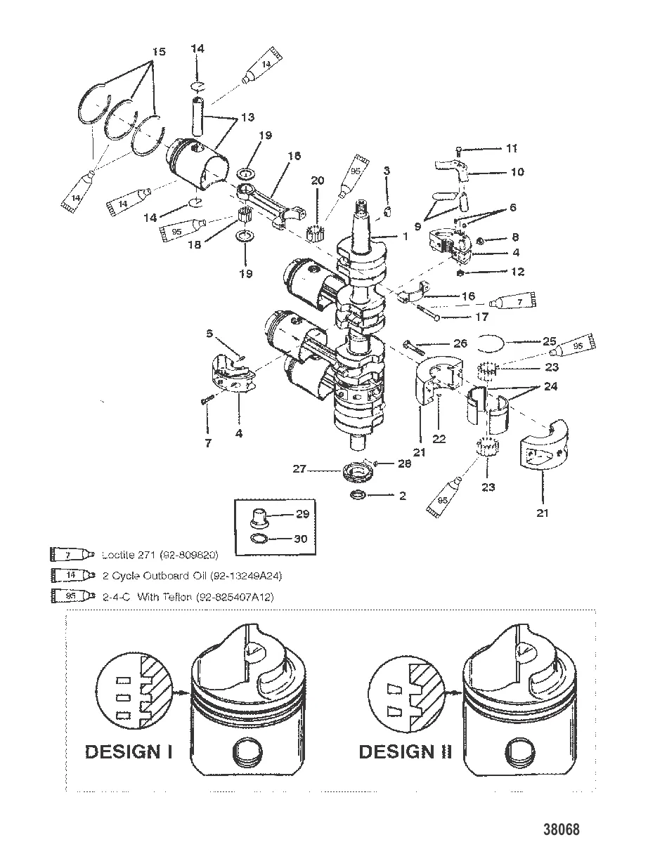
КОЛЕНЧАТЫЙ ВАЛ, ПОРШНИ И ШАТУНЫ
1
3
4
6
7
10
11
12
17
18
19
20
21
22
23
24
25
26
27
28
29
30

КОЛЕНЧАТЫЙ ВАЛ, ПОРШНИ И ШАТУНЫ

33 048 ₽

297 ₽

3 . Шпонка 20094

75829 → 20094

258 ₽

4 . REED блок ASSY Mercury 3267T25

3267A25 → 3267A18 → 1947A2 → 3267T25

56 528 ₽

599 ₽

7 . ВИНТ (0.190-32 x 0.50) Mercury 25764

20512 → 25157 → 20674 → 25764

416 ₽

13 458 ₽

1 194 ₽

Уточняйте

201 ₽

13 . ПОРШЕНЬ В СБОРЕ Mercury 9229A7

5172A6 → 3193A2 → 3193A4 → 9229A7

31 733 ₽

14 371 ₽

12 175 ₽

422 ₽

7 041 ₽

9 535 ₽

17 391 ₽

Уточняйте

53 266 ₽

22 671 ₽

17 568 ₽

798 ₽

83 ₽

348 ₽

56 ₽

Уточняйте

4 505,4 ₽

81 ₽

24 054 ₽

240 ₽

161 ₽

1 195 ₽

244 ₽

Уточняйте

432 ₽

Полезные статьи

Все статьи →
Связаться с нами