КАРТЕР РЕДУКТОРА (ВЕДУЩИЙ ВАЛ)(ПЕРЕДАТОЧНОЕ ЧИСЛО 2.00:1) — [0H000058 & Up] - USA — купить в Victory Marine
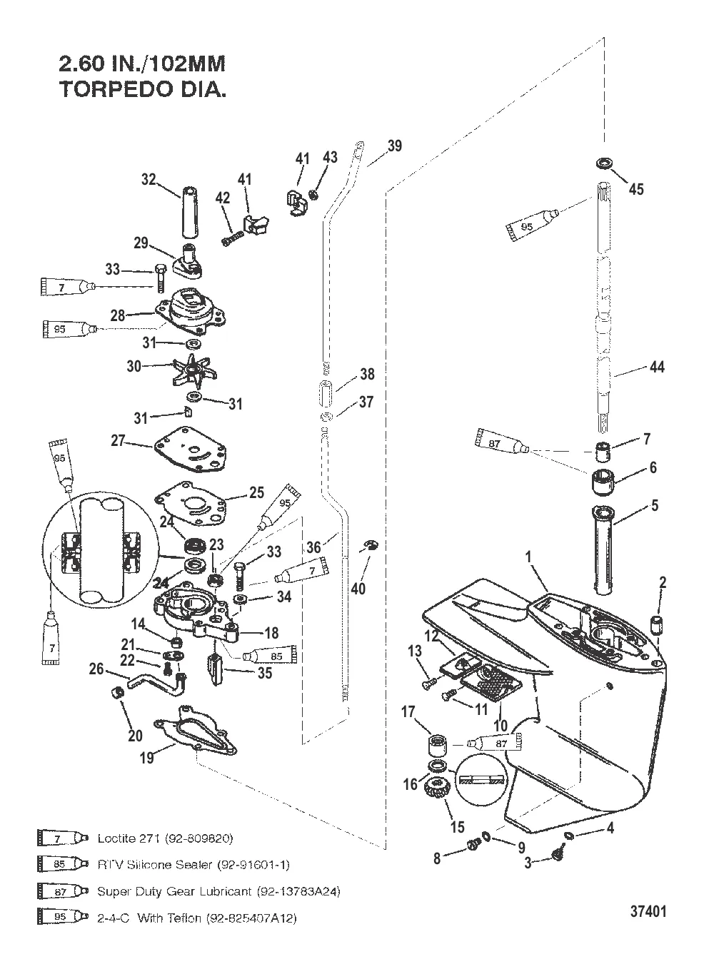
КАРТЕР РЕДУКТОРА (ВЕДУЩИЙ ВАЛ)(ПЕРЕДАТОЧНОЕ ЧИСЛО 2.00:1)
1
2
5
6
7
10
13
14
15
16
17
19
20
21
22
23
24
25
26
28
29
31
32
33
35
36
38
39
40
41
44
45

КАРТЕР РЕДУКТОРА (ВЕДУЩИЙ ВАЛ)(ПЕРЕДАТОЧНОЕ ЧИСЛО 2.00:1)

102 408 ₽

39 058 ₽

297 ₽

3 . 8M0058389 Болт с магнитом сливной (QUICKSILVER)

67892A06 → 67892A05 → 67892A1 → 67892 → 14834A1 → 14834 → 8M0058389

1 700 ₽

4 856 ₽

1 987 ₽

2 678 ₽

8 . 79953Q04 Болт сливной с Прокладкой без магнита (QUICKSILVER)

79953Q2 → 79953A2 → 79953 → 28634 → 20259 → 79953Q04

900 ₽

250 ₽

826 ₽

575 ₽

171 ₽

13 128 ₽

621 ₽

3 256 ₽

6 529 ₽

19 . Прокладка 192043

192042 → 192043

763 ₽

659 ₽

224 ₽

22 . Болт 48408

F2209 → 48408

256 ₽

308 ₽

24 . Сальник 413651

41365 → 413651

1 305 ₽

614 ₽

3 476 ₽

1 968 ₽

4 526 ₽

29 . Сальник 421021

42102 → 421021

876 ₽

4 291 ₽

31 . KEY IMPELLER 8M0173458

42376A2 → 8M0173458

571 ₽

1 322 ₽

306 ₽

113 ₽

2 301 ₽

Уточняйте

Уточняйте

257 ₽

3 300 ₽

Уточняйте

133 ₽

41 . GUIDE Mercury 8M0036770

42126 → 8M0036770

8 044 ₽

299 ₽

44 169 ₽

51 828 ₽

548 ₽

Полезные статьи

Все статьи →
Связаться с нами