Картер редуктора Ведущий вал – стандартное вращение, TorqueMaster — [0G610221 THRU 0T105297] - USA — купить в Victory Marine
Картер редуктора Ведущий вал – стандартное вращение, TorqueMaster
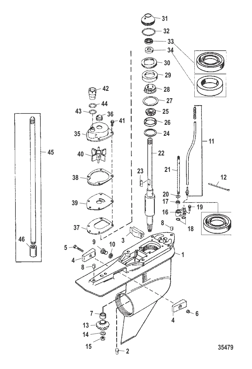
2
5
6
12
14
15
16
20
21
22
23
24
27
29
32
35
41
43
45
46

Картер редуктора Ведущий вал – стандартное вращение, TorqueMaster

549 392 ₽

290 ₽

2 500 ₽

439 ₽

442 ₽

8 900 ₽

306 ₽

9 . 79953Q04 Болт сливной с Прокладкой без магнита (QUICKSILVER)

79953Q2 → 79953A2 → 79953 → 28634 → 20259 → 79953Q04

900 ₽

250 ₽

3 331 ₽

28 ₽

14 . ШАЙБА Mercury 92721

F694186 → 92721

171 ₽

15 . Гайка 35921

47411 → 35921

909 ₽

4 172 ₽

2 100 ₽

140 ₽

14 836 ₽

166 386 ₽

23 . Ключ 8M0032833

43037 → 8M0032833

302 ₽

1 212 ₽

3 000 ₽

814 ₽

6 500 ₽

Уточняйте

5 900 ₽

32 . Кольцо 8M0142854

896523 → 8M0142854

55 ₽

Уточняйте

10 800 ₽

1 200 ₽

1 290 ₽

600 ₽

1 900 ₽

4 300 ₽

628 ₽

4 811 ₽

43 . Кольцо 21836

20679 → 21836

136 ₽

212 835 ₽

12 188 ₽

Полезные статьи

Все статьи →
Связаться с нами