Картер редуктора (Ведущий вал) станд. – Sportmaster — [1E051824 THRU 1E052994] - USA — купить в Victory Marine
Картер редуктора (Ведущий вал) станд. – Sportmaster
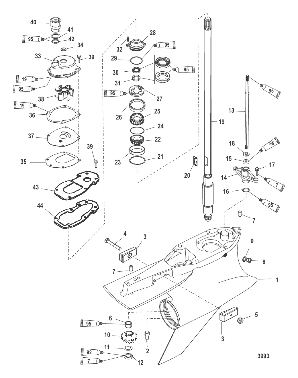
2
4
5
11
12
13
14
18
19
20
21
24
26
28
29
32
33
39
40
41
43
44

Картер редуктора (Ведущий вал) станд. – Sportmaster

798 112 ₽

290 ₽

439 ₽

442 ₽

8 900 ₽

306 ₽

8 . 79953q04 Болт сливной с Прокладкой без магнита

79953Q2 → 79953A2 → 79953 → 28634 → 20259 → 79953Q04

900 ₽

250 ₽

11 . ШАЙБА Mercury 92721

F694186 → 92721

171 ₽

12 . Гайка 35921

47411 → 35921

909 ₽

14 836 ₽

9 147 ₽

2 100 ₽

140 ₽

72 134 ₽

20 . Ключ 8M0032833

43037 → 8M0032833

302 ₽

1 212 ₽

3 000 ₽

814 ₽

6 500 ₽

Уточняйте

Уточняйте

4 305 ₽

29 . Кольцо 8M0142854

896523 → 8M0142854

55 ₽

Уточняйте

628 ₽

10 800 ₽

1 200 ₽

1 290 ₽

600 ₽

1 900 ₽

4 300 ₽

219 ₽

4 811 ₽

41 . Кольцо 21836

20679 → 21836

136 ₽

8 985 ₽

1 327 ₽

Полезные статьи

Все статьи →
Связаться с нами