Картер редуктора Ведущий вал – Command Thrust — [0R042475 & Up] - USA — купить в Victory Marine
Картер редуктора Ведущий вал – Command Thrust
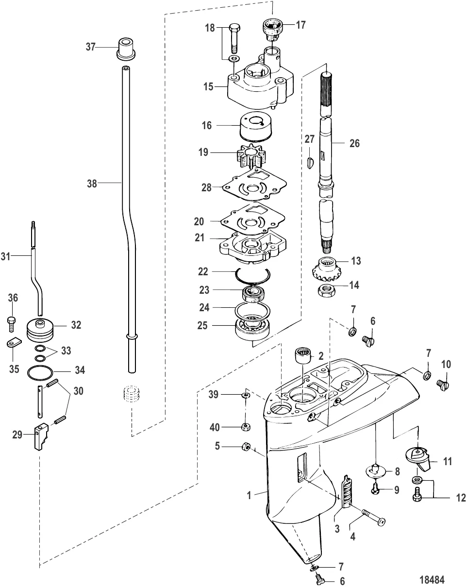
1
2
4
5
8
9
11
13
14
16
17
18
19
20
23
26
28
29
30
31
32
33
34
35
36
37
38
39

Картер редуктора Ведущий вал – Command Thrust

1 . GC BASIC 8/9.9 4S Mercury 8M0070873

895154T06 → 8M0070873

62 641 ₽

2 534 ₽

167 ₽

193 ₽

Уточняйте

766 ₽

190 ₽

698 ₽

2 596 ₽

286 ₽

17 060 ₽

1 670 ₽

10 274 ₽

1 409 ₽

338 ₽

18 . БОЛТ Mercury 823042046

8230425 → 823042046

588 ₽

Уточняйте

376 ₽

5 733 ₽

829 ₽

474 ₽

499 ₽

508 ₽

507 ₽

4 365 ₽

47 291 ₽

52 955 ₽

600 ₽

1 089 ₽

29 . CLUTCH CAM 8M0172382

898103166 → 8M0172382

4 152 ₽

129 ₽

10 431 ₽

10 485 ₽

1 871 ₽

210 ₽

360 ₽

164 ₽

103 ₽

287 ₽

6 242 ₽

7 412 ₽

39 . шайба Mercury 8M0135942

853701 → 8M0135942

662 ₽

269 ₽

Полезные статьи

Все статьи →
Связаться с нами