Популярные города
Товаров не найдено, но мы можем привезти под заказ
Нет аккаунта?
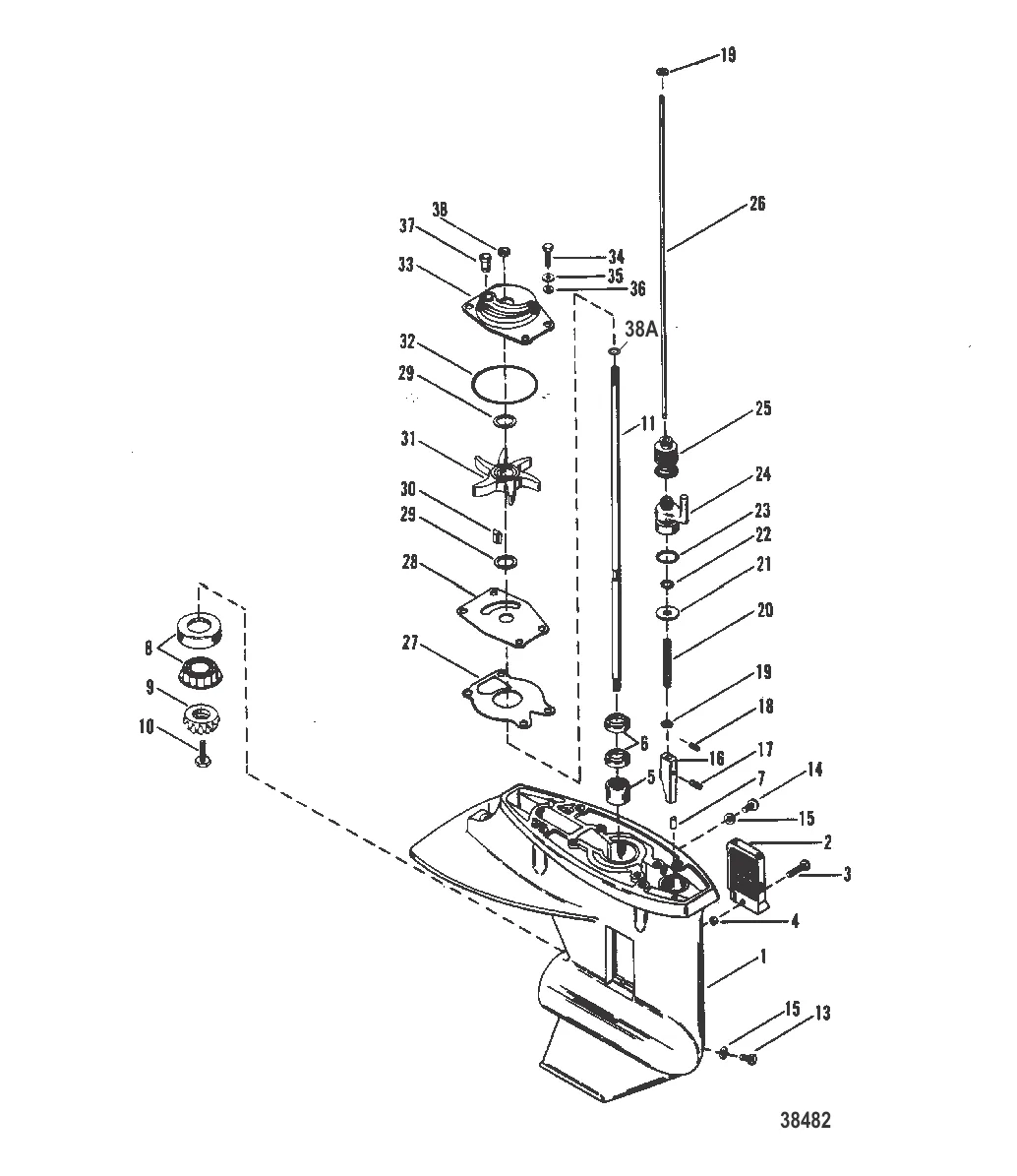
УПЛОТНИТЕЛЬНОЕ КОЛЬЦО Mercury 99691
99691
288 ₽
Подробный гайд по ловле щуки на кружки: устройство снасти, оснастка, выбор и насадка живца, тактика расстановки и управления. Традиционная русская техника, которая работает безотказно.
Лучшие места для рыбалки на Оке с лодки: от Калуги до Нижнего Новгорода, виды рыб и сезоны.
Разбираемся, какой мотор нужен для выхода на глиссер на ПВХ-лодке. Таблицы мощности по весу, реальные скорости, правильная развесовка и типичные ошибки новичков.
Контакты
+7 800 555-65-49
Бесплатно по России — нажмите, чтобы позвонить
Написать нам
Перезвоните мне
Оставьте номер — наш эксперт перезвонит и подберёт нужные запчасти
Нажимая кнопку, вы соглашаетесь на обработку персональных данных
Наш эксперт свяжется с вами в ближайшее время
Скидка будет применена к вашему заказу