Головка цилиндра — [0P515897 THRU 1C453839] - Belgium — купить в Victory Marine
Головка цилиндра
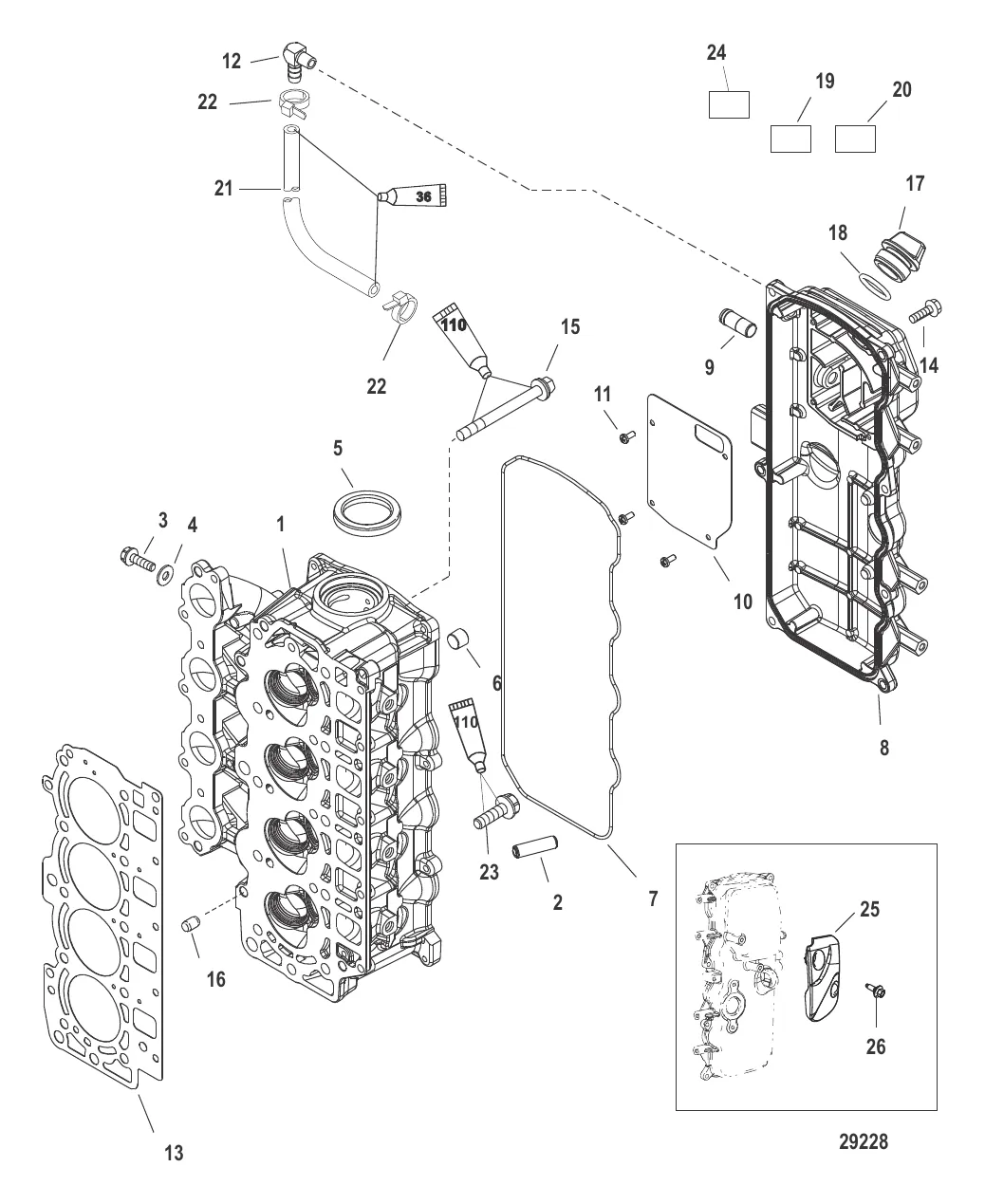
2
3
4
6
8
14
15
16
17
18
22
23
24
25
26

Головка цилиндра

79 403 ₽

353 ₽

482 ₽

4 . ШАЙБА Mercury 859768

893586 → 859768

451 ₽

4 500 ₽

860 ₽

5 500 ₽

8 . COVER ASSY 8M0174400

893694T02 → 8M0174400

32 639 ₽

1 316 ₽

13 500 ₽

14 . ВИНТ (M6 x 1.0 x 20) Mercury 8M4503518

40011128 → 1994020 → 8M4503518

394 ₽

1 219 ₽

413 ₽

17 . Пробка 859578A1

825490 → 859578A1

782 ₽

500 ₽

9 225 ₽

45 ₽

368 ₽

Уточняйте

1 777 ₽

3 245 ₽

Полезные статьи

Все статьи →
Гайды и подбор

Лодка РИБ — что это такое, плюсы и минусы, для кого подходит

Что такое РИБ, чем он отличается от обычной ПВХ и алюминиевой лодки, когда РИБ оправдан, а когда — лишняя трата денег. Разбираемся с конструкцией, ценами и подбором мотора.

1 мин.
Обслуживание и ремонт

Усиление и бронирование днища лодки ПВХ — лента, брус, киль

Рассказываем, как усилить днище лодки ПВХ своими руками. Разбираем виды бронирования — ПВХ-лента, привальный брус, защита киля — и даём пошаговую инструкцию по установке.

1 мин.
Обслуживание и ремонт

Промывка системы охлаждения лодочного мотора — средства и процедура

Промывка системы охлаждения — обязательная процедура для любого лодочного мотора, особенно после эксплуатации в солёной или мутной воде. Разбираем средства, методы и пошаговую процедуру промывки для моторов Mercury.

1 мин.
Связаться с нами