Дистанционное управление – DTS Сдвоенная рукоятка/консоль с панелью CAN (конструкция I) — [2002 & Up] — купить в Victory Marine
Дистанционное управление – DTS Сдвоенная рукоятка/консоль с панелью CAN (конструкция I)
4
9
10
11
13
14
15
16
17
18
19
20
22
24
25
26
27
28
29
30
31
32
33
34
35
37
38
39
41

Дистанционное управление – DTS Сдвоенная рукоятка/консоль с панелью CAN (конструкция I)

1 802 ₽

1 564 ₽

1 787 ₽

128 ₽

461 ₽

273 ₽

105 ₽

4 511 ₽

32 862 ₽

5 203 ₽

17 353 ₽

806 ₽

Уточняйте

1 822 ₽

255 ₽

28 ₽

10 743 ₽

329 ₽

9 148 ₽

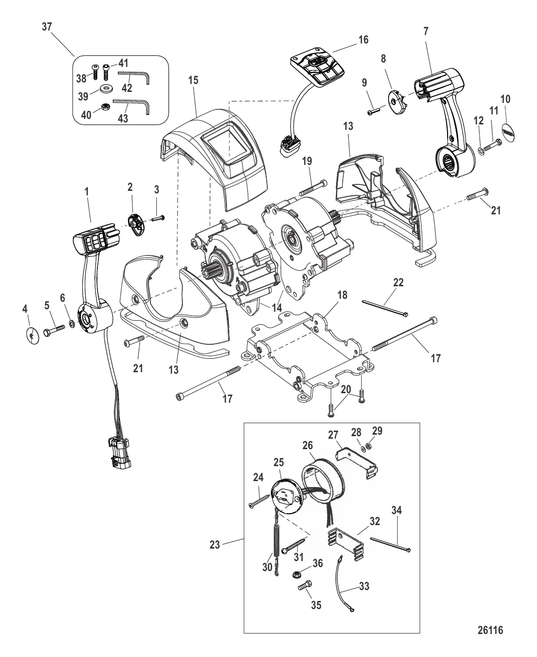
26 . ADAPTER Mercury 814820

812978 → 814820

1 168 ₽

195 ₽

129 ₽

29 . Гайка 68219

20645 → 33252 → 68219

72 ₽

30 . LANYARD ASSEMBLY 15920Q54

15920A54 → 86352 → 15920Q54

1 262 ₽

94 ₽

709 ₽

670 ₽

45 ₽

152 ₽

223 ₽

3 153 ₽

97 ₽

309 ₽

46 ₽

442 ₽

64 ₽

116 ₽

Полезные статьи

Все статьи →
Связаться с нами