Цилиндр системы дифферента (Мокрый поддон) без пластины датчика дифферента (до 1998 г.) — SSM VI — купить в Victory Marine
Цилиндр системы дифферента (Мокрый поддон) без пластины датчика дифферента (до 1998 г.)
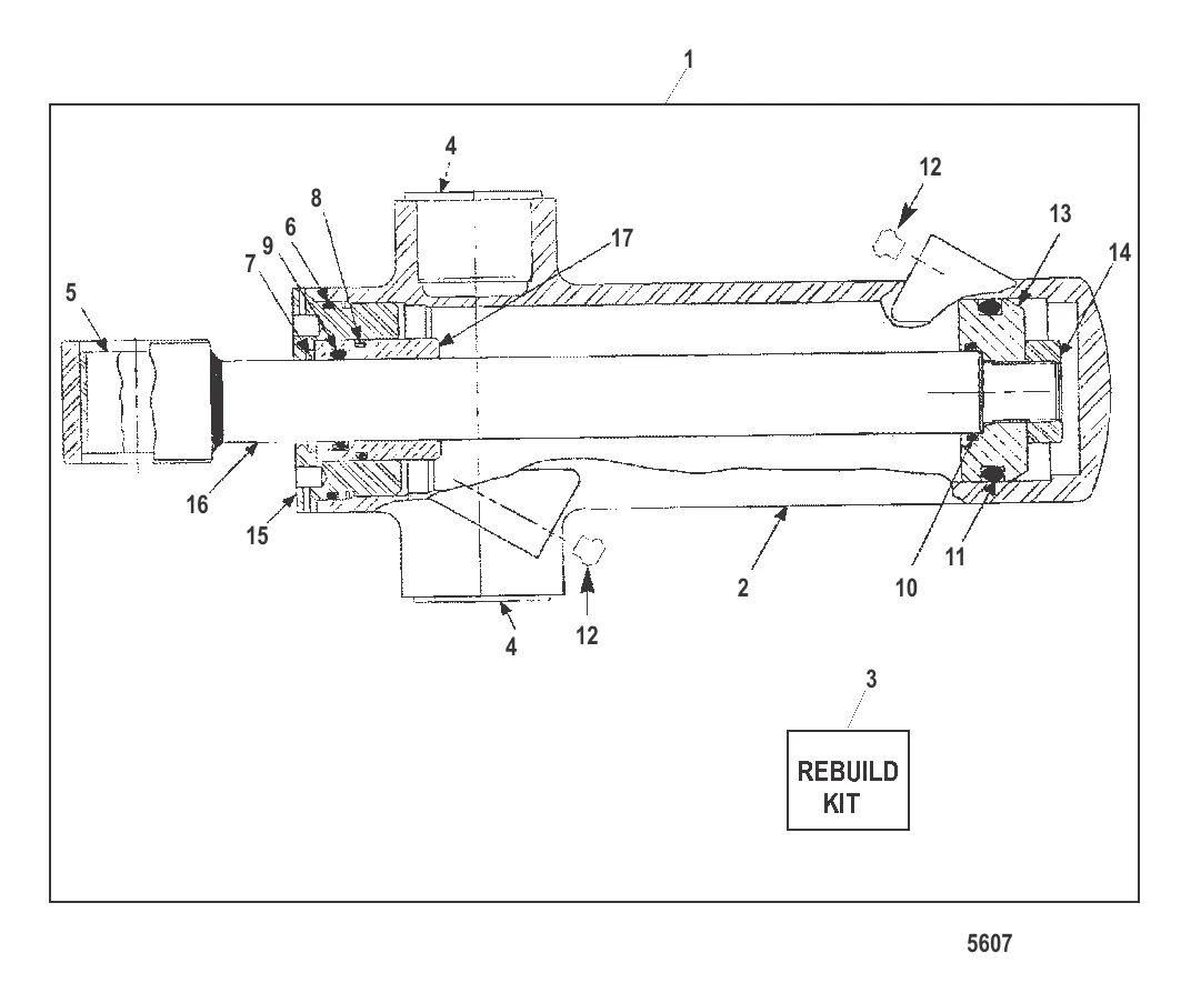
2
3
4
5
6
7
8
10
11
13
14
15
16
17

Цилиндр системы дифферента (Мокрый поддон) без пластины датчика дифферента (до 1998 г.)

618 459 ₽

2 . КОРПУС Mercury 8463172

8463171 → 8463172

219 219 ₽

78 019 ₽

19 179 ₽

18 223 ₽

103 ₽

8 639 ₽

193 ₽

192 ₽

224 ₽

166 ₽

3 573 ₽

7 290 ₽

Уточняйте

740 ₽

27 586 ₽

16 . ROD END-TRIM Mercury 8M0080801

879317T98 → 8M0080801

104 619 ₽

10 251 ₽

Полезные статьи

Все статьи →
Связаться с нами