Центральная главная система смазки с левого борта — [0T651945 THRU 0T818042] - USA — купить в Victory Marine
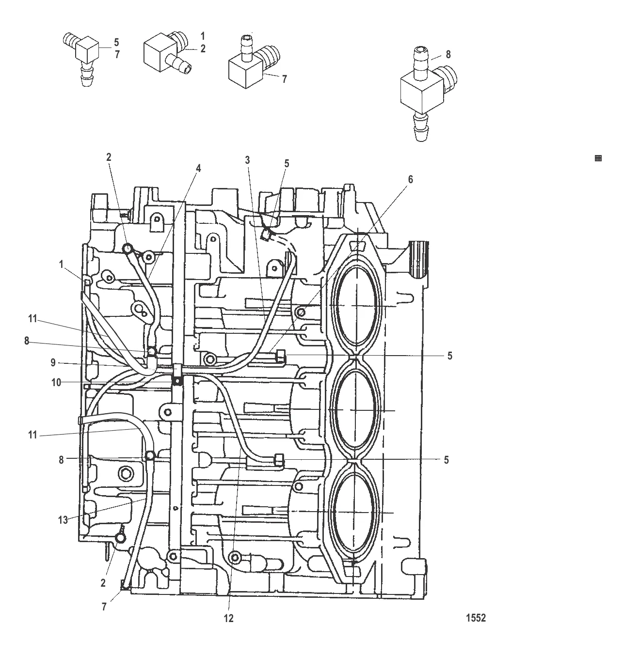
Центральная главная система смазки с левого борта
7
8
9
10
13

Центральная главная система смазки с левого борта

2 399 ₽

4 844 ₽

7 890 ₽

8 . ОБРАТНЫЙ КЛАПАН Mercury 8582362

8582361 → 858236 → 8582362

5 625 ₽

765 ₽

10 . Болт 48408

F2209 → 48408

256 ₽

13 . Шланг 8M0054152

85606065 → 8M0054152

5 838 ₽

Полезные статьи

Все статьи →
Связаться с нами