Carburetor & Throttle Linkage (205) — 1985-1987 [0A331455 THRU 0B527954] - Cat.# 90-13008 — купить в Victory Marine
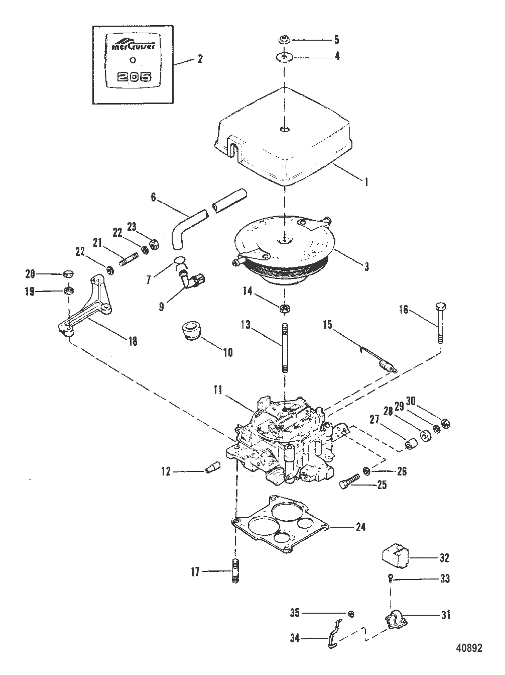
Carburetor & Throttle Linkage (205)
1
2
3
4
6
7
9
11
12
13
16
17
18
19
20
21
22
24
25
26
27
28
29
30
31
32
33
34
35

Carburetor & Throttle Linkage (205)

1 . КРЫШКА Mercury 15414A7

43560A5 → 41595A4 → 91804A1 → 15414A7

6 902 ₽

Уточняйте

30 869 ₽

223 ₽

4 417 ₽

281 ₽

781 ₽

1 500 ₽

96 561 ₽

Уточняйте

436 ₽

245 ₽

1 561 ₽

171 ₽

3 213 ₽

18 . THROTTLE BRKT Mercury 805359A02

41329A3 → 41329A4 → 805359A02

16 473 ₽

19 . Шайба 20084

46680 → 20084

401 ₽

298 ₽

659 ₽

203 ₽

363 ₽

24 . ПРОКЛАДКА Mercury 524572

524571 → 52457 → 524572

551 ₽

25 . ВИНТ Mercury 98509

22958 → 98509

Уточняйте

507 ₽

Уточняйте

1 564 ₽

146 ₽

253 ₽

16 919 ₽

1 535 ₽

207 ₽

3 281 ₽

35 . ЗАЖИМ Mercury 59989

FI1100790 → 59989

234 ₽

Полезные статьи

Все статьи →
Обслуживание и ремонт

Промывка системы охлаждения лодочного мотора — средства и процедура

Промывка системы охлаждения — обязательная процедура для любого лодочного мотора, особенно после эксплуатации в солёной или мутной воде. Разбираем средства, методы и пошаговую процедуру промывки для моторов Mercury.

1 мин.
Гайды и подбор

Ловля карася весной — прикормка, наживки и секреты крупного улова

Когда карась начинает клевать весной, на что его ловить и как приготовить убойную прикормку. Поплавок, фидер, донка — разбираем все варианты.

1 мин.
Гайды и подбор

Ловля щуки на кружки с лодки — оснастка, живец, тактика

Подробный гайд по ловле щуки на кружки: устройство снасти, оснастка, выбор и насадка живца, тактика расстановки и управления. Традиционная русская техника, которая работает безотказно.

1 мин.
Связаться с нами