Замок зажигания — [0G610050 THRU 0G856999] - Canada — купить в Victory Marine
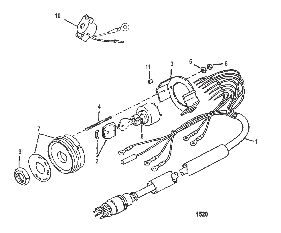
Замок зажигания
2
3
4
5
6
7
8
10
11

Замок зажигания

21 840 ₽

487 ₽

2 076 ₽

854 ₽

129 ₽

6 . Гайка 68219

20645 → 33252 → 68219

72 ₽

6 161 ₽

7 721 ₽

803 ₽

4 505 ₽

522 ₽

523 ₽

Полезные статьи

Все статьи →
Обслуживание и ремонт

Электросхема лодочного мотора Mercury: популярные модели

Подробный разбор электросхем лодочных моторов Mercury — от простых 9.9/15 двухтактных до мощных 150-200 четырёхтактных. Цветовая маркировка проводов, система зажигания, зарядки и запуска. Диагностика мультиметром, типичные неисправности и когда пора к электрику.

3 мин.
Гайды и подбор

Полный чек-лист снаряжения для рыбалки с лодки — что взять и не забыть

Подробный чек-лист снаряжения для рыбалки с лодки: безопасность, навигация, рыболовные принадлежности, комфорт, инструменты и документы. Что обязательно, а без чего можно обойтись.

1 мин.
Гайды и подбор

Как правильно спустить лодку на воду — с берега, прицепа и слипа

Пошаговая инструкция по спуску лодки: с необорудованного берега, с прицепа и со слипа. Разбираем типичные ошибки — от забытой пробки до оторванного страховочного троса.

1 мин.
Связаться с нами